Запчасти John Deere 92ELC 310 - Super Long Front Bucket Cylinder (011000 - ) 3360 Hydraulic System

Схема запчастей John Deere 92ELC - 310 - Super Long Front Bucket Cylinder (011000 - ) 3360 Hydraulic System
FIT
1:1
100%

Артикул

Название

Примечание

Количество

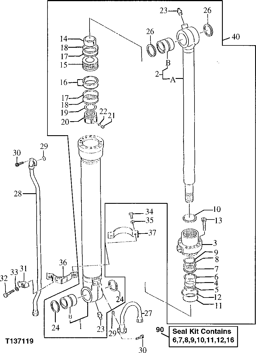
1

4344585

Hydraulic Cylinder Barrel

SUB FOR AT168755

1шт.

1B

0310513

Bushing

SUB FOR TH109383

1шт.

2

Rod

4344584 NLA, SUB FOR AT168759

1шт.

2A

Rod

T152393 NLA

1шт.

2B

4S00353

Bushing

SUB FOR TH109329

1шт.

3

0624403

Cylinder Head

SUB FOR T152394

1шт.

4

AT264389

Wear Ring

SUB FOR TH109372

1шт.

5

4510494

Snap Ring

SUB FOR TH106169

1шт.

6

AT264376

Ring

SUB FOR TH105766 AND 4S00167

1шт.

7

AT264374

Seal

SUB FOR TH105764

1шт.

8

AT264375

Back-Up Ring

SUB FOR TH105765

1шт.

9

AT264390

Ring

SUB FOR 4S00135 AND TH109373

1шт.

10

Seal

1шт.

11

4123536

O-Ring

SUB FOR 4059388 OR T152396

1шт.

12

0254905

Back-Up Ring

SUB FOR TH111725

1шт.

13

M341656

Bolt

SUB FOR TH109319 OR 0163406

8шт.

14

0409109

Bearing

SUB FOR AT153953

1шт.

15

0326004

Piston

SUB FOR TH111726

1шт.

16

0240807

Ring

SUB FOR TH105802

1шт.

17

0326005

Ring

SUB FOR TH111727

2шт.

18

0254908

Ring

SUB FOR TH111728 OR 4S00840

2шт.

19

TH110253

Shim

SUB FOR 0326007

1шт.

20

0409108

Nut

SUB FOR AT153952

1шт.

21

22M7139

Set Screw

M10 X 10

1шт.

22

400R

Ball

6.350 mm (1/4")

1шт.

23

TH100074

Lubrication Fitting

2шт.

24

TH105979

Seal

2шт.

26

TH100374

Seal

2шт.

27

0624404

Oil Line

SUB FOR AT168761

1шт.

28

0624405

Pipe

SUB FOR T152400

1шт.

29

0976602

O-Ring

SUB FOR TH103574, AT264354 OR 4S00734

2шт.

30

19M8439

Screw

M8 X 25

8шт.

31

0310616

Clamp

SUB FOR TH109386

1шт.

32

19M7496

Cap Screw

M12 X 45

1шт.

33

12M7058

Lock Washer

12 mm SUB FOR 12M7067

1шт.

34

19M7550

Cap Screw

M10 X 35 SUB FOR AT153924

2шт.

35

12M7066

Lock Washer

10 mm

2шт.

36

0624406

Band

SUB FOR T152402

1шт.

37

0326012

Clamp

SUB FOR TH111735

1шт.

40

4344576

Cylinder

SUB FOR AT168750

1шт.

70

Sideboom

Super Long Front Not Illustrated Cont ains All Items On This Page - Addition al Components Listed On Separate Pages AT166407 NLA Also Includes Right and Left Boom Cylinders and Arm Cylinder

1шт.

90

4344571

Seal Kit

SUB FOR AT168764

1шт.

Выбрано товаров: 42