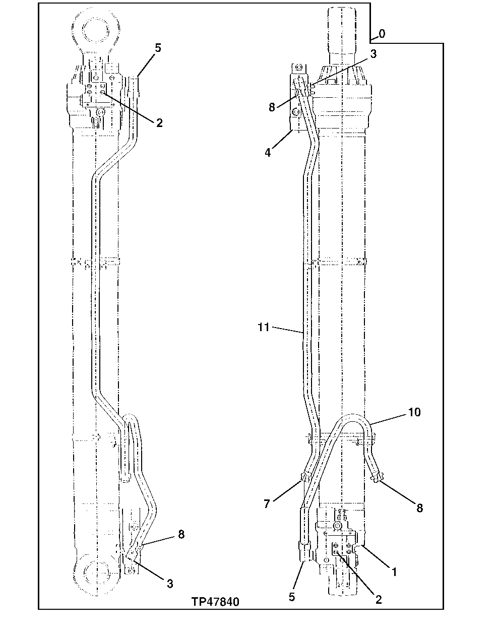
Запчасти John Deere 92ELC 315 - LOAD LOWERING VALVE ARM CYLINDER KIT 3360 Hydraulic System

Схема запчастей John Deere 92ELC - 315 - LOAD LOWERING VALVE ARM CYLINDER KIT 3360 Hydraulic System
FIT
1:1
100%

Артикул

Название

Примечание

Количество

0

AT171165

Kit

(LOAD LOWERING ARM CYLINDER) (CONTA INS ALL ITEMS LISTED ON THIS PAGE, A DDITIONAL COMPONENTS ON FOLLOWING PA GE) (KIT DOES NOT CONTAIN CYLINDERS)

1шт.

1

4326245

Flow Control Hyd. Valve

(SUB FOR AT174577)

1шт.

2

19M8547

Screw

M12 X 90 (SUB FOR AT127258 OR M341290)

8шт.

3

AT264324

O-Ring

(SUB FOR TH100044)

2шт.

4

4326087

Flow Control Hyd. Valve

(SUB FOR AT174576)

1шт.

5

Elbow Fitting

2шт.

7

T76938

O-Ring

23.520 X 1.780 mm (0.926" X 0.070")

1шт.

8

T78612

O-Ring

(SUB FOR AT174557)

3шт.

10

8042457

Line

(SUB FOR AT174582)

1шт.

11

8042210

Line

(SUB FOR AT174583)

1шт.

Выбрано товаров: 10