Запчасти John Deere 90 1 - EXHAUST MANIFOLD 410 - ENGINE 4

Схема запчастей John Deere 90 - 1 - EXHAUST MANIFOLD 410 - ENGINE 4
FIT
1:1
100%

Артикул

Название

Примечание

Количество

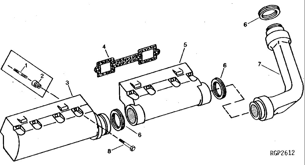
1

R61296

STUD

(SUB R82735)

8шт.

2

R65830

FLANGE NUT

(SUB R82735)

8шт.

3

R61298

EXHAUST MANIFOLD

1шт.

4

R61300

GASKET

2шт.

5

R61297

EXHAUST MANIFOLD

1шт.

6

R61301

RING

3шт.

7

R61304

COUPLING

1шт.

8

R82735

SCREW

8шт.

Выбрано товаров: 8