Запчасти John Deere 90 8 - FUEL INJECTION NOZZLES AND FUEL LINES 413 - ENGINE 4

Схема запчастей John Deere 90 - 8 - FUEL INJECTION NOZZLES AND FUEL LINES 413 - ENGINE 4
FIT
1:1
100%

Артикул

Название

Примечание

Количество

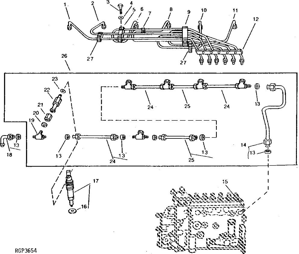
1

RE47721

FUEL LINE

NO. 6

1шт.

2

RE47720

FUEL LINE

NO. 5

1шт.

3

19H1849

CAP SCREW

5/16" X 1-1/4"

2шт.

4

12H303

LOCK WASHER

5/16"

2шт.

5

R67197

STRAP

1шт.

R67195

STRAP

1шт.

R67196

CLAMP

2шт.

6

RE47719

FUEL LINE

NO. 4

1шт.

7

R120181

STRAP

2шт.

R58186

CLAMP

2шт.

R120182

STRAP

1шт.

RE55672

BOLT

1шт.

8

RE47718

FUEL LINE

NO. 3

1шт.

9

R74660

ABSORBER

(INNER)

1шт.

R74661

ABSORBER

(OUTER)

1шт.

10

RE47717

FUEL LINE

NO. 2

1шт.

11

RE47716

FUEL LINE

NO. 1

1шт.

12

R120197

CLAMP

1шт.

R120198

CLAMP

1шт.

R59301

REINFORCEMENT

1шт.

RE55672

BOLT

5шт.

13

R51936

SEALING WASHER

13шт.

14

RE42283

FUEL LINE

1шт.

15

R67364

ELBOW FITTING

1шт.

16

R84472

WASHER

(NOT INCLUDED W/ RE65467)

6шт.

17

RE65467

NOZZLE HOLDER

(NOT AS SHOWN)

6шт.

SE500186

INJECTION NOZZLE REMAN

(REMANUFACTURED) (990)

6шт.

SE501127

INJECTION NOZZLE REMAN

(SINGLE PACK) (REMANUFACTURED FOR RE65467)

ARшт.

18

AR104650

FUEL LINE

(SUB FOR RE503092)

1шт.

19

R79606

TEE FITTING

6шт.

20

R79605

WASHER

6шт.

21

R79604

TUBE NUT

6шт.

22

R89175

FITTING

(ALSO ORDER R77551)

6шт.

23

R77551

O-RING

6шт.

SE501130

INJECTION NOZZLE REMAN

ARшт.

24

RE11926

FUEL LINE

3шт.

25

RE11927

FUEL LINE

2шт.

26

RE11929

KIT

1шт.

27

R120183

STRAP

1шт.

R59297

HALF CLAMP

2шт.

R120184

STRAP

1шт.

RE55672

BOLT

2шт.

RE55672

BOLT

2шт.

R120183

STRAP

1шт.

R59297

HALF CLAMP

2шт.

R120184

STRAP

1шт.

Выбрано товаров: 46