Качественные детали и логистика
Оригинальные и аналоговые запчасти с доставкой по России, Казахстану и Беларуси
©2022 PartSell ООО "Система" ИНН 2463123282 ОГРН 1212400004838
Центральный офис: г. Красноярск, Академика Киренского, д.87, пом.4
Телефон: 8 (800) 777-65-74 Email: zakaz@partsell.ru
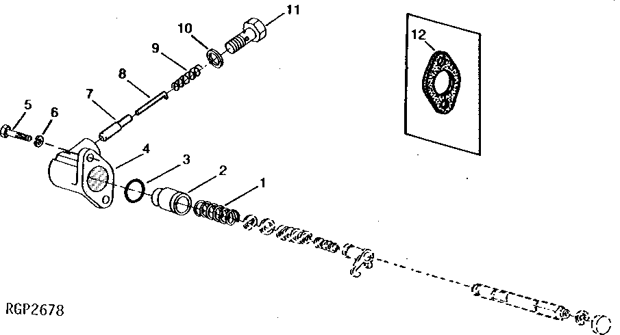
19 - HYDRAULIC ANEROID ACTIVATOR
№
Артикул
Название
Примечание
Количество
1
R63059
SPRING
1шт.
2
R63060
PISTON
3
R67886
O-RING
4
R67885
HOUSING
(SUB FOR R63062) (ALSO ORDER R67886)
5
R63063
SCREW
2шт.
6
R54880
LOCK WASHER
7
R62104
VALVE
8
R62105
PIN FASTENER
9
R26373
10
R62107
WASHER
11
R62106
12
(NLA)
Выбрано товаров: 0