Запчасти John Deere 90 6 - COOLANT CONDITIONER FILTER 510 - ENGINE AUXILIARY SYSTEMS 5

Схема запчастей John Deere 90 - 6 - COOLANT CONDITIONER FILTER 510 - ENGINE AUXILIARY SYSTEMS 5
FIT
1:1
100%

Артикул

Название

Примечание

Количество

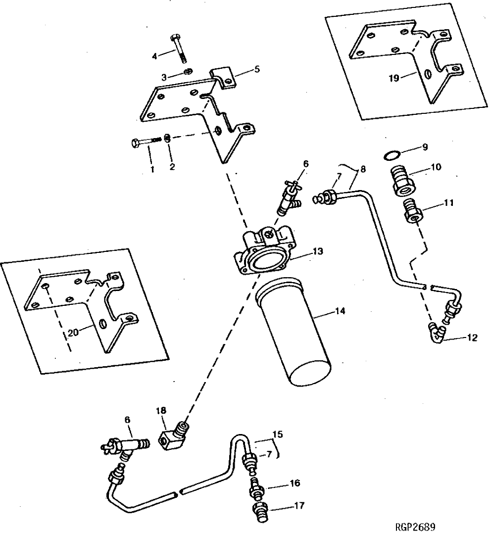
1

19M7166

CAP SCREW

M10 X 20

1шт.

2

12M7066

LOCK WASHER

10 MM

1шт.

3

12H304

LOCK WASHER

3/8"

4шт.

4

19H3483

CAP SCREW

3/8" X 1-1/8", (SUB FOR 19H2552)

4шт.

5

RE27477

BRACKET

(SUB FOR R75697 OR R83279)

1шт.

6

AR87364

SHUT-OFF VALVE

2шт.

7

R67092

SEALING WASHER

4шт.

8

RE10992

OIL LINE

(SUB RE22860)

1шт.

RE22860

LINE

1шт.

9

R29936

O-RING

1шт.

10

R82717

ADAPTER FITTING

(SUB FOR R74034)

1шт.

11

15H586

ADAPTER FITTING

1шт.

12

R67803

FITTING

2шт.

R67803

FITTING

1шт.

13

AR87111

BASE

1шт.

14

AR94652

COOLANT FILTER

(COOLANT FILTER W/COOL COND.) (SUB FOR AR88276 OR AR89380) (SUB RE11992)

1шт.

RE11992

COOLANT FILTER

(COOLANT FILTER W/O COOL COND.) (SUB FOR AR94652)

1шт.

15

RE13354

LINE

(SUB RE22859) (SUB FOR RE10993)

1шт.

RE22859

LINE

1шт.

16

R68199

FITTING

(USE WITH RE13354)

1шт.

17

15H619

PIPE BUSHING

1шт.

18

T23837

FITTING

1шт.

19

R75697

BRACKET

(SUB RE27477)

1шт.

20

R83279

BRACKET

(SUB RE27477)

1шт.

Выбрано товаров: 24