Запчасти John Deere 90 1 - MAIN FRAME 1740 - FRAME, CHASSIS OR SUPPORTING STRUCTURE 17

Схема запчастей John Deere 90 - 1 - MAIN FRAME 1740 - FRAME, CHASSIS OR SUPPORTING STRUCTURE 17
FIT
1:1
100%

Артикул

Название

Примечание

Количество

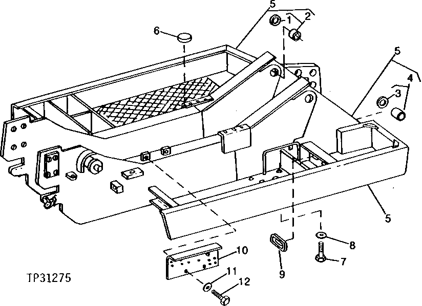
1

T46613

SEAL

4шт.

2

AT47492

BUSHING

WITH SEALS (BOOM TO FRAME)

2шт.

3

T49394

SEAL

4шт.

4

AT47997

BUSHING

WITH SEALS (BOOM CYLINDER TO FRAME)

2шт.

5

MAIN FRAME

WITH BUSHINGS ( AT69295 AND AT72518 NO LONGER AVAILABLE)

1шт.

MAIN FRAME

WITH BUSHINGS ( AT72508 NO LONGER AVAILABLE)

1шт.

6

15H243

ADAPTER FITTING

1шт.

7

08H4751

CAP SCREW

1" X 6-1/4"

30шт.

8

U15422

WASHER

30шт.

9

U41729

GROMMET

RECTANGULAR HOSE PROTECTOR

5шт.

10

AT72507

PLATE

1шт.

11

24H1106

WASHER

11/16" X 1-3/4" X .134"

2шт.

12

19H2994

CAP SCREW

HS, SAE 8, 5/8" X 1-1/2"

2шт.

Выбрано товаров: 13