Запчасти John Deere 90 5 - AIR CONDITIONER REFRIGERANT LINES AND HOSES 1830 - OPERATORS STATION 18

Схема запчастей John Deere 90 - 5 - AIR CONDITIONER REFRIGERANT LINES AND HOSES 1830 - OPERATORS STATION 18
FIT
1:1
100%

Артикул

Название

Примечание

Количество

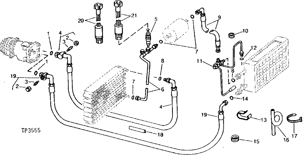
1

R47235

O-RING

2шт.

2

R60172

NUT

1шт.

3

R60170

VALVE

1шт.

4

AT56109

HOSE

1шт.

5

R60170

VALVE

2шт.

6

AT63510

TUBE

1шт.

7

R10093

O-RING

4шт.

8

P51212

O-RING

2шт.

9

AT56083

REFRIGERANT HOSE

1шт.

10

T58739

GROMMET

1шт.

11

AT62543

THERMOSTATIC CONTROL VALVE

1шт.

12

R34812

O-RING

1шт.

13

R66645

CLIP

3шт.

14

R33259

O-RING

1шт.

15

MOLDING

(MAKE FROM T58056) (SUB FOR T46876, THIS APPLICATION)

1шт.

16

T60811

BULK HOSE

(SUB FOR T16946) (50 FT. ROLL, CUT TO LENGTH)

1шт.

17

H77698

TIE BAND

(SUB FOR T44946)

2шт.

18

R41358

ISOLATOR

(SUB FOR T59953 OR T25667)

1шт.

19

AT56108

HOSE

1шт.

20

AT63266

SWITCH

LOW PRESSURE

1шт.

21

AT63265

SWITCH

HIGH PRESSURE

1шт.

Выбрано товаров: 21