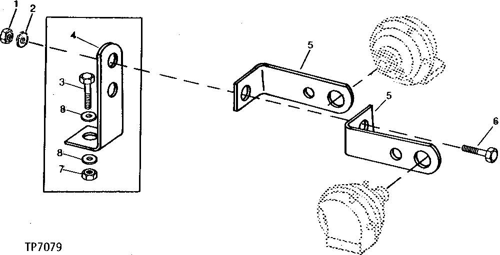
Запчасти John Deere 90 2 - HORN ATTACHING BRACKETS 2004 - SAFETY, CONVENIENCE AND MISCELLANEOUS 20

Схема запчастей John Deere 90 - 2 - HORN ATTACHING BRACKETS 2004 - SAFETY, CONVENIENCE AND MISCELLANEOUS 20
FIT
1:1
100%

Артикул

Название

Примечание

Количество

1

14H785

NUT

5/16"

1шт.

2

24H1122

WASHER

3/8" X 7/8" X 0.083"

1шт.

3

19H3483

CAP SCREW

3/8" X 1-1/8"

1шт.

4

T72245

ANGLE

1шт.

5

U44501

BRACKET

2шт.

6

19H118

CAP SCREW

5/16" X 1"

1шт.

7

14H812

NUT

3/8"

1шт.

8

24H1305

WASHER

13/32" X 13/16" X 0.065"

2шт.

Выбрано товаров: 8