Запчасти John Deere 90 10B - HYDRAULIC PUMP VALVE SECTION 3360 - EXCAVATOR 33

Схема запчастей John Deere 90 - 10B - HYDRAULIC PUMP VALVE SECTION 3360 - EXCAVATOR 33
FIT
1:1
100%

Артикул

Название

Примечание

Количество

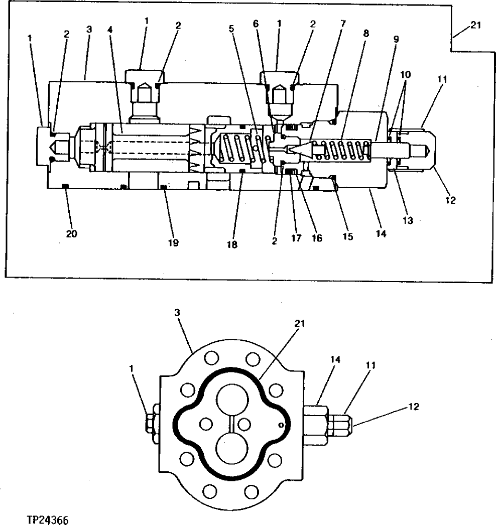
1

N10193

SNAP RING

3шт.

2

T70177

O-RING

(SUB FOR T121898) (K1) (K2)

4шт.

3

HOUSING

(SUB AT130059)

1шт.

4

VALVE SPOOL

(SUB AT130059)

1шт.

5

T73308

SPRING

1шт.

6

T73306

SEAT

1шт.

7

T73305

POPPET

1шт.

8

T73307

SPRING

1шт.

9

T121899

SET SCREW

1шт.

10

T124301

O-RING

(K1) (K2)

2шт.

11

T124304

SLEEVE

(K1)

1шт.

12

T73312

NUT

1шт.

13

T73311

LOCK NUT

1шт.

14

T73304

PLUG

1шт.

15

T121897

O-RING

(K1) (K2)

1шт.

16

T73302

BACK-UP RING

(K1) (K2)

1шт.

17

T124302

O-RING

(K1) (K2)

1шт.

18

T124303

BACK-UP RING

(K1) (K2)

1шт.

19

T124305

O-RING

(K2)

1шт.

20

T42742

O-RING

(K2)

1шт.

21

AT130059

HYD ACTUATED CONTROL VALVE

1шт.

Выбрано товаров: 21