Запчасти John Deere 90 2 - SWING LOCK 4311 - SWING, ROTATION OR PIVOTING SYSTEM 43

Схема запчастей John Deere 90 - 2 - SWING LOCK 4311 - SWING, ROTATION OR PIVOTING SYSTEM 43
FIT
1:1
100%

Артикул

Название

Примечание

Количество

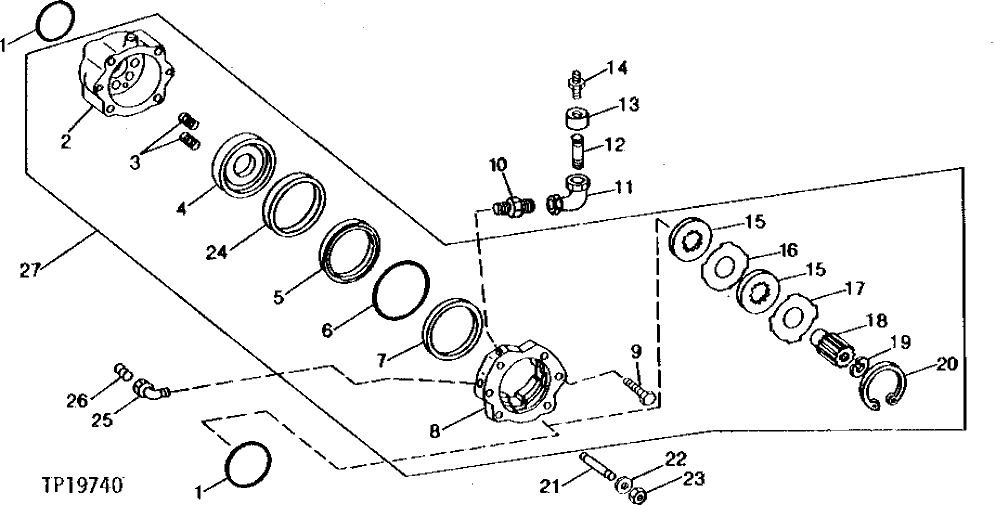
1

R55453

O-RING

2шт.

2

AT60809

HOUSING

(MARKED T63825)

1шт.

3

T40977

SPRING

10шт.

4

T40975

PISTON

1шт.

5

AT112460

SEAL

(SUB FOR AT81800)

1шт.

6

T70176

O-RING

1шт.

7

U44590

BACK-UP RING

1шт.

8

T77035

FLANGE

1шт.

9

19H2922

SCREW

3/8" X 1-1/4"

2шт.

10

T79627

THREADED NIPPLE

1шт.

11

15H415

ELBOW FITTING

1шт.

12

29H761

THREADED NIPPLE

1"

1шт.

13

T41645

FITTING

1шт.

14

U14273

BREATHER

1шт.

15

T114856

BRAKE DISK

(SUB FOR T46153)

7шт.

16

T59495

BRAKE DISK

7шт.

17

T59496

BRAKE DISK

1шт.

18

T40976

SHAFT

1шт.

19

T14445

SNAP RING

1шт.

20

T40980

SNAP RING

1шт.

21

T81431

STUD

(SUB FOR T67715)

4шт.

22

N31767

WASHER

4шт.

23

14H1040

NUT

1/2"

4шт.

24

T107595

BACK-UP RING

(SUB FOR T80940)

1шт.

25

15H198

ELBOW FITTING

1шт.

26

15H604

PIPE PLUG

1/4"

1шт.

27

BRAKE

( AT81864 USE IF AVAILABLE)

1шт.

Выбрано товаров: 27