Запчасти John Deere 92DLC 4 - ETHER STARTING AID 505 - ENGINE AUXILIARY SYSTEM 5

Схема запчастей John Deere 92DLC - 4 - ETHER STARTING AID 505 - ENGINE AUXILIARY SYSTEM 5
FIT
1:1
100%

Артикул

Название

Примечание

Количество

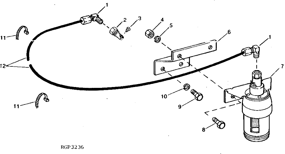
1

RE21790

ELBOW FITTING

(SUB FOR AT25266)

2шт.

2

R47160

NOZZLE HOLDER

1шт.

3

T155858

NOZZLE

(SUB FOR R28583)

1шт.

4

14H785

NUT

5/16"

2шт.

5

12H303

LOCK WASHER

5/16"

2шт.

6

T103717

BRACKET

1шт.

7

RE48311

STARTING AID

(SUB RE48311) (SUB FOR AT125915)

1шт.

RE48311

STARTING AID

1шт.

8

19H2127

CAP SCREW

5/16" X 7/8"

2шт.

9

19H2284

CAP SCREW

3/8" X 7/8"

2шт.

10

12H304

LOCK WASHER

3/8"

2шт.

11

R44302

TIE BAND

2шт.

12

R97880

TUBE

1шт.

Выбрано товаров: 13