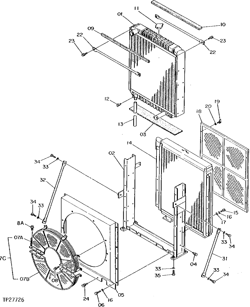
Запчасти John Deere 92DLC 4 - RADIATOR, OIL COOLER AND FAN GUARD 510 - ENGINE AUXILIARY SYSTEM 5

Схема запчастей John Deere 92DLC - 4 - RADIATOR, OIL COOLER AND FAN GUARD 510 - ENGINE AUXILIARY SYSTEM 5
FIT
1:1
100%

Артикул

Название

Примечание

Количество

1

4252451

RADIATOR

(SUB FOR AT132565)

1шт.

2

4252450

FRAME

(SUB FOR AT132564)

1шт.

3

4237636

ISOLATOR

(SUB FOR AT132529)

1шт.

4

4218646

BOLT

(SUB FOR AT126876)

16шт.

5

4263645

SHROUD

(SUB FOR AT132560 ALONG WITH AT128479 AND (7) 19M7932) (SUB FOR AT128478)

1шт.

6

19M7402

CAP SCREW

M10 X 25

10шт.

7A

GUARD

( AT132561 NO LONGER AVAILABLE) (SUB AT128479)

1шт.

7B

GUARD

( AT132560 NO LONGER AVAILABLE) (SUB AT128479)

1шт.

7C

4263642

GUARD

(SUB FOR AT128479)

1шт.

8

19M7932

CAP SCREW

M8 X 16

7шт.

8A

19M7932

CAP SCREW

M8 X 16

11шт.

9

4237639

ISOLATOR

(SUB FOR AT132530)

2шт.

10

4237640

ISOLATOR

(SUB FOR AT132531)

2шт.

11

AT169085

FILLER CAP

(SUB FOR TH111864)

1шт.

12

4148705

DRAIN PLUG

(SUB FOR TH109425)

1шт.

13

HOSE

( TH106433 OR AT132532 NO LONGER AVAILABLE) (MAKE FROM 1/2 INCH VINYL TUBING CUT TO LENGTH)

1шт.

14

4252448

OIL COOLER

(SUB FOR AT132562)

1шт.

15

19M7402

CAP SCREW

M10 X 25

10шт.

16

12M7066

LOCK WASHER

10 MM

20шт.

17

24M7028

WASHER

10.500 X 20 X 2 MM

10шт.

18

4237643

SCREEN

(SUB FOR AT132533)

1шт.

19

21M1689

WING SCREW

M6 X 12

4шт.

20

24M7054

WASHER

6.400 X 12 X 1.600 MM

4шт.

22

4237644

BRACE

(SUB FOR AT132534)

2шт.

23

4218646

BOLT

(SUB FOR AT126876)

4шт.

24

J010814

SCREW WITH WASHER

(SUB FOR AT132457)

4шт.

31

8075503

STOP

(SUB FOR AT131802) (SUB FOR AT184715)

1шт.

32

4236509

SUPPORT

(SUB FOR AT131958)

1шт.

33

12H294

LOCK WASHER

5/8"

8шт.

34

19M8035

CAP SCREW

M16 X 35

4шт.

35

19M7489

CAP SCREW

M16 X 45

4шт.

Выбрано товаров: 0