Запчасти John Deere 92DLC 4 - ENGINE SPEED CONTROL 515 - ENGINE AUXILIARY SYSTEM 5

Схема запчастей John Deere 92DLC - 4 - ENGINE SPEED CONTROL 515 - ENGINE AUXILIARY SYSTEM 5
FIT
1:1
100%

Артикул

Название

Примечание

Количество

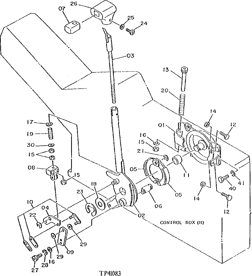
1

4241146

PLATE

(SUB FOR AT131387)

1шт.

2

4241147

LEVER

(SUB FOR AT131388)

1шт.

3

4241148

LEVER

(SUB FOR AT131389)

1шт.

4

4241149

LINK

(SUB FOR AT131390)

1шт.

5

4241150

BRAKE SHOE

(SUB FOR AT131391)

2шт.

6

4241151

CAM

(SUB FOR AT131392)

1шт.

7

4241152

PUSH BUTTON

(SUB FOR AT131393)

1шт.

8

4241153

TURNBUCKLE

(SUB FOR AT131394)

1шт.

9

4241154

LEVER

(SUB FOR AT131395)

1шт.

10

4241155

LINK

(SUB FOR AT131396) (SUB FOR AT131977, ALONG WITH AT130866)

1шт.

11

4241156

BUSHING

(SUB FOR AT131397)

1шт.

12

19M8008

CAP SCREW

M8 X 35

2шт.

13

4241157

BOLT

(SUB FOR AT131398)

1шт.

14

14M7273

NUT

M8

2шт.

15

4045245

NUT

(SUB FOR AT131399)

4шт.

16

24M7054

WASHER

6.400 X 12 X 1.600 MM

2шт.

17

24M7055

WASHER

8.400 X 16 X 1.600 MM

1шт.

18

24M7051

WASHER

21 X 37 X 3 MM

1шт.

19

4241158

SPRING

(SUB FOR AT131400)

1шт.

20

4241159

SPRING

(SUB FOR AT131401)

1шт.

21

4241160

SNAP RING

(SUB FOR AT131402)

1шт.

22

4241161

SNAP RING

(SUB FOR AT131403)

1шт.

23

4241162

SNAP RING

(SUB FOR AT131984) (SUB FOR AT131404)

1шт.

24

4241163

SCREW

(SUB FOR AT131405)

1шт.

25

4241164

WASHER

(SUB FOR AT131406)

1шт.

26

4241165

KNOB

(SUB FOR AT131407)

1шт.

27

M340610

SCREW

(SUB FOR AT127981) (SUB FOR AT132107, ALONG WITH AT130865)

1шт.

28

12M7006

LOCK WASHER

6 MM

1шт.

29

4241166

SPACER

(SUB FOR AT131408)

2шт.

30

4241167

WASHER

(SUB FOR AT131409)

1шт.

40

19M7932

CAP SCREW

M8 X 16

3шт.

41

12M7056

LOCK WASHER

8 MM, (SUB FOR 12M7065)

3шт.

Выбрано товаров: 32