Запчасти John Deere 92DLC 2 - FUEL TANK 560 - ENGINE AUXILIARY SYSTEM 5

Схема запчастей John Deere 92DLC - 2 - FUEL TANK 560 - ENGINE AUXILIARY SYSTEM 5
FIT
1:1
100%

Артикул

Название

Примечание

Количество

0

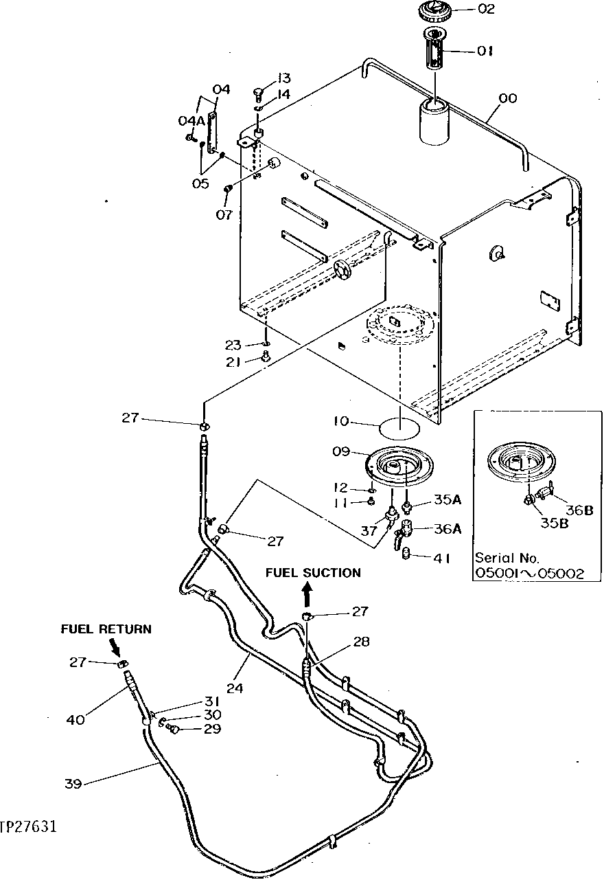
FUEL TANK

(SUB AT131326) ( AT132018 NO LONGER AVAILABLE)

1шт.

5003399

FUEL TANK

(SUB FOR AT131326)

1шт.

1

4121496

FUEL FILTER

(SUB FOR TH100509)

1шт.

2

AT321249

FILLER CAP

(SUB FOR TH108249, AT175989 OR 4361638) (KEY LOCKABLE) (ORDER KEY SEPARATELY)

1шт.

AT194969

KEY

(SUB FOR AT147803) (H800) (NOT ILLUSTRATED)

1шт.

AT323462

FILLER CAP

(SUB FOR TH108249, AT175989 OR 4361638) (CAN BE LOCKED WITH PADLOCK) (PADLOCK NOT INCLUDED)

1шт.

4

8033923

LEVEL GAUGE

(SUB FOR TH108250)

1шт.

4A

4100967

BOLT

(SUB FOR TH101894)

2шт.

5

449558

WASHER

(SUB FOR TH100675)

4шт.

7

94-2024

FITTING PLUG

(SUB FOR TH101292)

1шт.

9

8067496

COVER

(SUB FOR AT132080) (SUB FOR AT177828)

1шт.

10

TH100679

O-RING

1шт.

11

19M8784

SCREW

M10 X 20, (SUB FOR TH100670, 19M8356)

6шт.

12

12M7066

LOCK WASHER

10 MM

6шт.

13

19M8231

CAP SCREW

M12 X 16, (SUB FOR TH100522)

1шт.

14

12H301

LOCK WASHER

1/2"

1шт.

21

19M8035

CAP SCREW

M16 X 35

8шт.

23

4114405

WASHER

(SUB FOR TH101105)

8шт.

24

HOSE

( AT132009 NO LONGER AVAILABLE) (CUT TO LENGTH FROM M87571 BULK MATERIAL)

1шт.

27

TY22464

CLAMP

(SUB FOR AT145649) (SUB FOR AR21836)

4шт.

28

TUBE

( AT132010 NO LONGER AVAILABLE) (CUT TO LENGTH FROM T83427 BULK MATERIAL)

1шт.

29

19M8324

CAP SCREW

M10 X 16

9шт.

30

12M7066

LOCK WASHER

10 MM

9шт.

31

R72659

CLAMP

(SUB FOR TH108594 OR 4235654)

9шт.

35A

94-1702

ADAPTER FITTING

(SUB FOR TH102949)

1шт.

35B

ELBOW FITTING

(SUB AT128432, ALONG WITH TH102949 AND TH100667)

1шт.

36A

4209782

HAND OPERATED VALVE

(SUB FOR AT128432)

1шт.

36B

DRAIN VALVE

(SUB AT128432 ALONG WITH TH102949 AND TH100667)

1шт.

37

9726772

FITTING

(SUB FOR TH108251)

1шт.

39

T79477

HOSE

1шт.

40

TUBE

( AT132010 NO LONGER AVAILABLE) (CUT TO LENGTH FROM T83427 BULK MATERIAL)

1шт.

41

94-2023

FITTING PLUG

(SUB FOR TH100667)

1шт.

Выбрано товаров: 32