Запчасти John Deere 92DLC 6 - CAB ELECTRICAL PARTS 1674 - ELECTRICAL SYSTEM 16

Схема запчастей John Deere 92DLC - 6 - CAB ELECTRICAL PARTS 1674 - ELECTRICAL SYSTEM 16
FIT
1:1
100%

Артикул

Название

Примечание

Количество

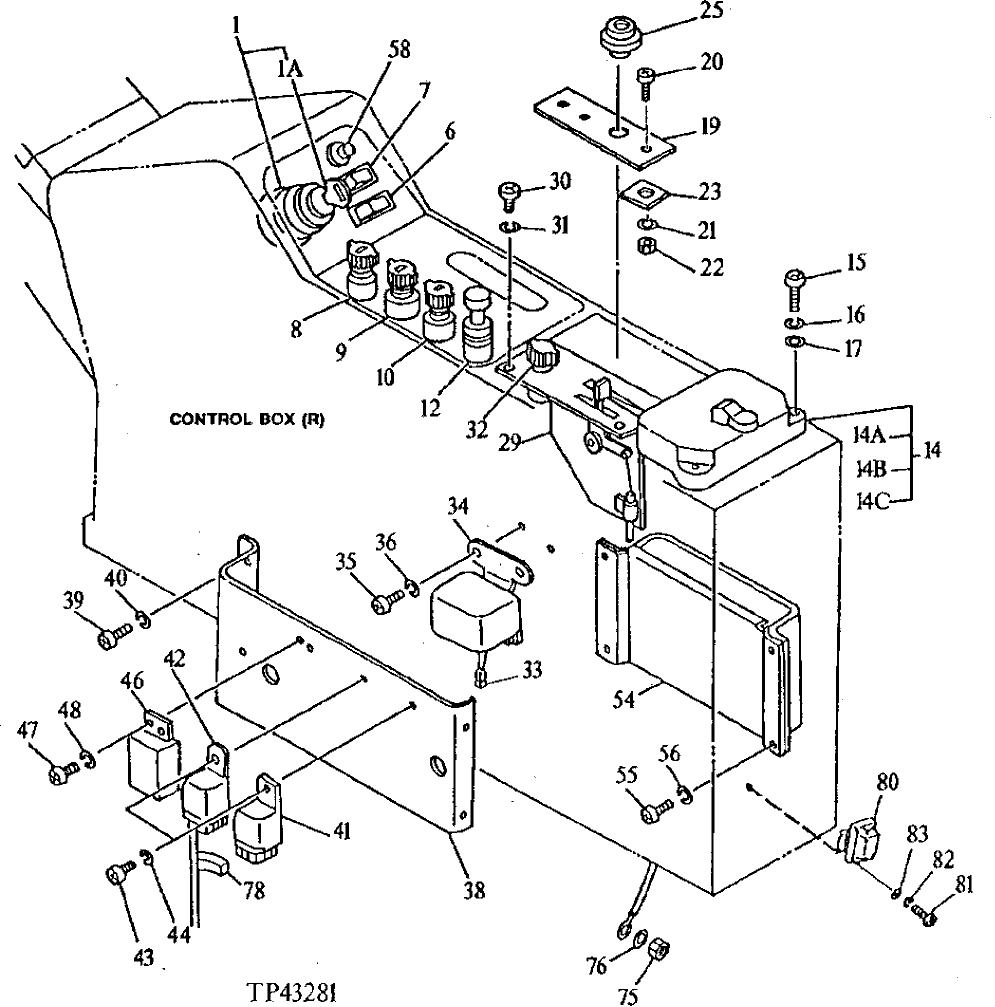
1

4237505

SWITCH

(SUB FOR TH108551 OR 4186744) (IGNITION)

1шт.

1A

AT194969

KEY

(SUB FOR TH108552 AND AT147803) (IGNITION)

1шт.

6

4187088

SWITCH

(SUB FOR TH108553) (PROPEL SPEED)

1шт.

7

4187089

SWITCH

(SUB FOR TH108554) (AUTO IDLE)

1шт.

8

4201802

SWITCH

(SUB FOR TH108555) (MODE)

1шт.

4268742

KNOB

(SUB FOR AT130798)

1шт.

9

4184396

SWITCH

(SUB FOR TH108556) (WORK LIGHT)

1шт.

4268740

KNOB

(SUB FOR AT130799)

1шт.

10

4204250

SWITCH

(SUB FOR AT131763) (WIPER)

1шт.

4239945

SWITCH

(SUB FOR AT131384) (WIPER)

1шт.

12

AR60937

ELECTRICAL LIGHTER

(ALSO ORDER AT78633, AT78634 AND AU42809) (12 VOLT)

1шт.

AT78633

HOUSING

(12 VOLT)

1шт.

AT78634

WIRING LEAD

(12 VOLT)

1шт.

AU42809

RESISTOR

(12 VOLT)

1шт.

ELECTRICAL LIGHTER

(SUB FOR AT190190) (24 VOLT) ( 4357862 NO LONGER AVAILABLE)

1шт.

14

4240134

FUSE BOX

(SUB FOR AT131976)

1шт.

14A

AT39227

FUSE

(15A) (WORK LIGHTS, LIGHTER)

4шт.

14B

AT28077

FUSE

(10 AMP) (DOME LIGHT, HEATER, WIPER, HORN, CONTROLLER, MONITOR)

9шт.

14C

AT58169

FUSE

(1A) (CLOCK, RADIO)

3шт.

15

21M7277

SCREW

M6 X 25

2шт.

16

12M7006

LOCK WASHER

6 MM

2шт.

17

24M7054

WASHER

6.400 X 12 X 1.600 MM

2шт.

19

4200522

PLATE

(SUB FOR TH108564)

1шт.

20

21M7455

SCREW

M6 X 20, (SUB FOR 21M7085)

2шт.

21

12M7006

LOCK WASHER

6 MM

2шт.

22

14M7272

NUT

M6

2шт.

23

4200521

PLATE

(SUB FOR TH108565)

2шт.

25

4155755

SWITCH

(SUB FOR TH101582) (START AID)

1шт.

29

4456566

CONTROL

(HEATER) (SUB FOR 4189169, ALSO ORDER 4248908)

1шт.

4248908

CABLE

(SUB FOR AT194604)

1шт.

30

21M7396

SCREW

M4 X 10

4шт.

31

12H315

LOCK WASHER

4.166 MM, (SUB FOR 12M7063)

4шт.

32

4184397

SWITCH

(SUB FOR TH108557) (BLOWER)

1шт.

4268750

KNOB

(SUB FOR AT130800)

1шт.

33

4317182

DIODE

(SUB FOR AT161062)

1шт.

34

4505392

RELAY

(SUB FOR TH100585) (HORN)

1шт.

35

21M7288

SCREW

M6 X 10

2шт.

36

12M7006

LOCK WASHER

6 MM

2шт.

38

3045820

BRACKET

(SUB FOR AT131659)

1шт.

39

21M7288

SCREW

M6 X 10

4шт.

40

12M7006

LOCK WASHER

6 MM

4шт.

41

4189566

RELAY

(SUB FOR AT131724) (PROPEL ALARM)

1шт.

42

4183189

RELAY

(SUB FOR AT131719) (PROPEL SPEED)

1шт.

43

21M7288

SCREW

M6 X 10

2шт.

44

12M7006

LOCK WASHER

6 MM

2шт.

46

4205029

RELAY

(SUB FOR TH108573) (LOAD DUMP)

1шт.

47

21M7288

SCREW

M6 X 10

1шт.

48

12M7006

LOCK WASHER

6 MM

1шт.

54

9086485

CIRCUIT BOX

(SUB FOR AT132129)

1шт.

55

21M7288

SCREW

M6 X 10

4шт.

56

12M7006

LOCK WASHER

6 MM

4шт.

58

4266984

SWITCH

(SUB FOR TH100574) (MOTION ALARM STOP)

1шт.

75

14M7274

NUT

M10

1шт.

76

12M7066

LOCK WASHER

10 MM

1шт.

78

4192489

DIODE

(SUB FOR TH110500)

1шт.

80

4239944

RELAY

(SUB FOR AT131385) (WINDSHIELD WIPER)

1шт.

81

21M7288

SCREW

M6 X 10

2шт.

82

12M7006

LOCK WASHER

6 MM

2шт.

83

24M7054

WASHER

6.400 X 12 X 1.600 MM

2шт.

Выбрано товаров: 59