Запчасти John Deere 92DLC 10 - MACHINE ELECTRICAL PARTS 1674 - ELECTRICAL SYSTEM 16

Схема запчастей John Deere 92DLC - 10 - MACHINE ELECTRICAL PARTS 1674 - ELECTRICAL SYSTEM 16
FIT
1:1
100%

Артикул

Название

Примечание

Количество

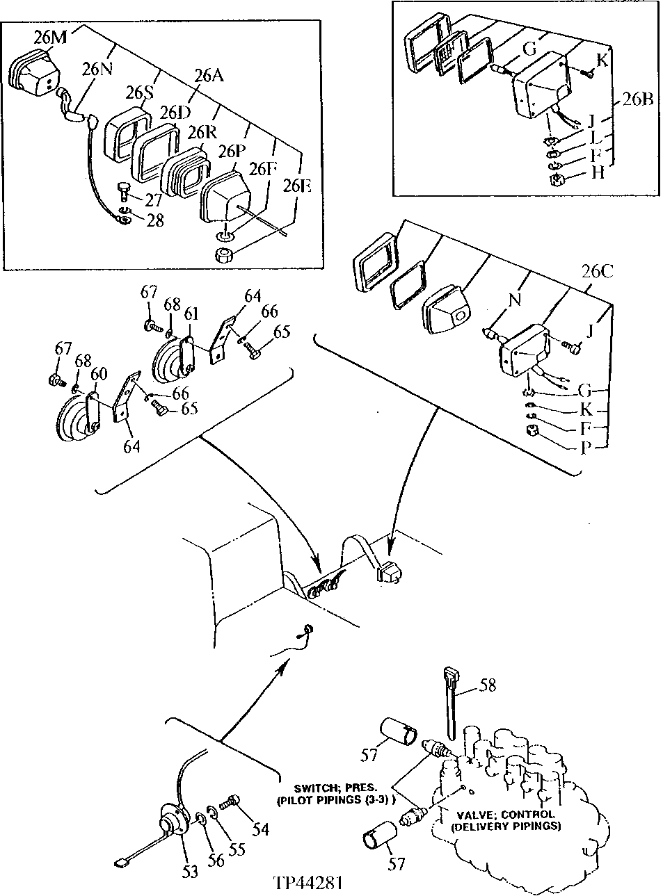
26A

LAMP

(SUB AT165110) (HEADLIGHT) ( TH102149 NO LONGER AVAILABLE)

1шт.

26B

LAMP

(SUB AT165110) (HEADLIGHT) ( AT159146 NO LONGER AVAILABLE)

1шт.

26C

AT165110

LAMP

(SUB FOR AT176424, TH102149 OR AT159146) (HEADLIGHT)

1шт.

26D

HOLDER

( TH102153 NO LONGER AVAILABLE)

1шт.

26E

14M7502

NUT

M14, (SUB FOR 14M7150)

1шт.

26F

12H317

LOCK WASHER

9/16"

1шт.

26G

AT135758

BULB

(SUB FOR AT159149) (USE IF AVAILABLE)

1шт.

AT135758

BULB

(SUB FOR AT159149 OR AT154990)

1шт.

26H

14M7345

NUT

M14, (SUB FOR J952014) (SUB FOR TH103791)

1шт.

26J

4307026

WASHER

(SUB FOR T144361)

1шт.

26K

37H19

SCREW

(SUB FOR T144362 OR 4307027)

1шт.

26L

24M7085

WASHER

15 X 28 X 2.500 MM

1шт.

26M

4163596

LAMP

(SUB FOR TH102150)

1шт.

26N

WIRING HARNESS

( AT128418 NO LONGER AVAILABLE)

1шт.

26P

HOUSING

( AT128419 NO LONGER AVAILABLE)

1шт.

26R

BAND

( TH102151 NO LONGER AVAILABLE)

1шт.

26S

HOLDER

( TH102152 NO LONGER AVAILABLE)

1шт.

27

19M7300

CAP SCREW

M6 X 10

1шт.

28

12M7006

LOCK WASHER

6 MM

1шт.

53

4151888

SWITCH

(SUB FOR TH102170) (HYDRAULIC OIL)

1шт.

54

21M7265

SCREW

M5 X 12

3шт.

55

12M7064

LOCK WASHER

5 MM

3шт.

56

24M7027

WASHER

5.300 X 10 X 1 MM

3шт.

57

4252404

CAP

(SUB FOR TH108591, THIS APPLICATION) (SUB FOR AT128435)

2шт.

58

H77698

TIE BAND

(SUB FOR M88199)

2шт.

60

AT64237

HORN

HIGH

1шт.

61

AT64237

HORN

LOW

1шт.

64

4210716

BRACKET

(SUB FOR AT131867)

2шт.

65

19M8017

CAP SCREW

M12 X 20, (SUB FOR AT131538 OR J901218)

4шт.

66

12H301

LOCK WASHER

1/2"

4шт.

67

19M7932

CAP SCREW

M8 X 16

2шт.

68

12M7056

LOCK WASHER

8 MM, (SUB FOR 12M7065)

2шт.

Выбрано товаров: 32