Запчасти John Deere 92DLC 18 - HEAVY-LIFT CONTROL LEVER, RELAYS AND DIODES 1674 - ELECTRICAL SYSTEM 16

Схема запчастей John Deere 92DLC - 18 - HEAVY-LIFT CONTROL LEVER, RELAYS AND DIODES 1674 - ELECTRICAL SYSTEM 16
FIT
1:1
100%

Артикул

Название

Примечание

Количество

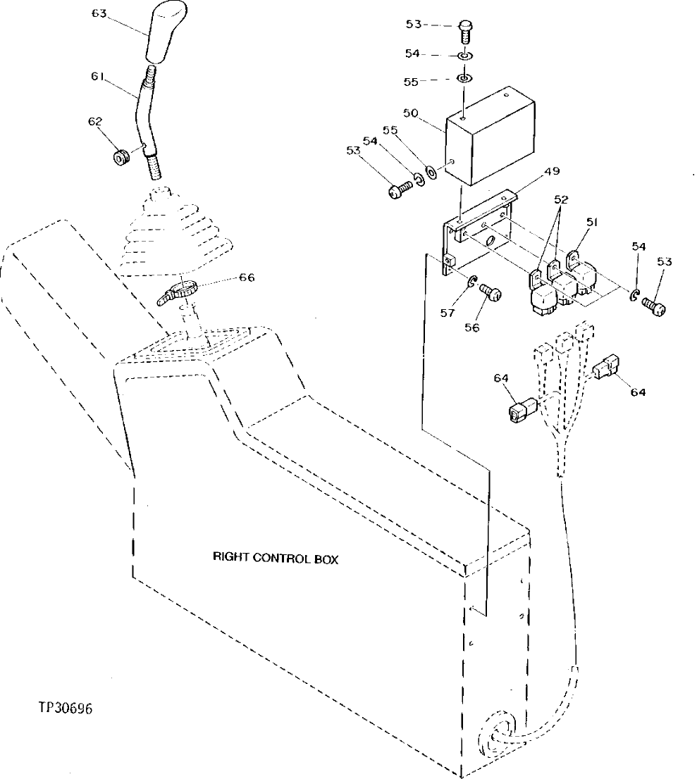
49

8041942

BRACKET

(SUB FOR AT132577)

1шт.

50

3042002

COVER

(SUB FOR AT132474)

1шт.

51

4183189

RELAY

(SUB FOR AT131719) (LIFT)

1шт.

52

4189566

RELAY

(SUB FOR AT131724) (HEAVY LIFT)

2шт.

53

21M7288

SCREW

M6 X 10

6шт.

54

12M7006

LOCK WASHER

6 MM

6шт.

55

24M7054

WASHER

6.400 X 12 X 1.600 MM

3шт.

56

21M7278

SCREW

M5 X 10

4шт.

57

12M7064

LOCK WASHER

5 MM

4шт.

61

8038794

LEVER

(SUB FOR TH108370)

1шт.

62

487081

GROMMET

(SUB FOR TH108081)

1шт.

63

4216883

GRIP

(SUB FOR AT132506)

1шт.

64

4192489

DIODE

(SUB FOR TH110500) (HEAVY LIFT)

2шт.

66

H77698

TIE BAND

5шт.

Выбрано товаров: 0