Запчасти John Deere 92DLC 6 - COUNTERWEIGHT 1740 - FRAME, CHASSIS OR SUPPORTING STRUCTURE 17

Схема запчастей John Deere 92DLC - 6 - COUNTERWEIGHT 1740 - FRAME, CHASSIS OR SUPPORTING STRUCTURE 17
FIT
1:1
100%

Артикул

Название

Примечание

Количество

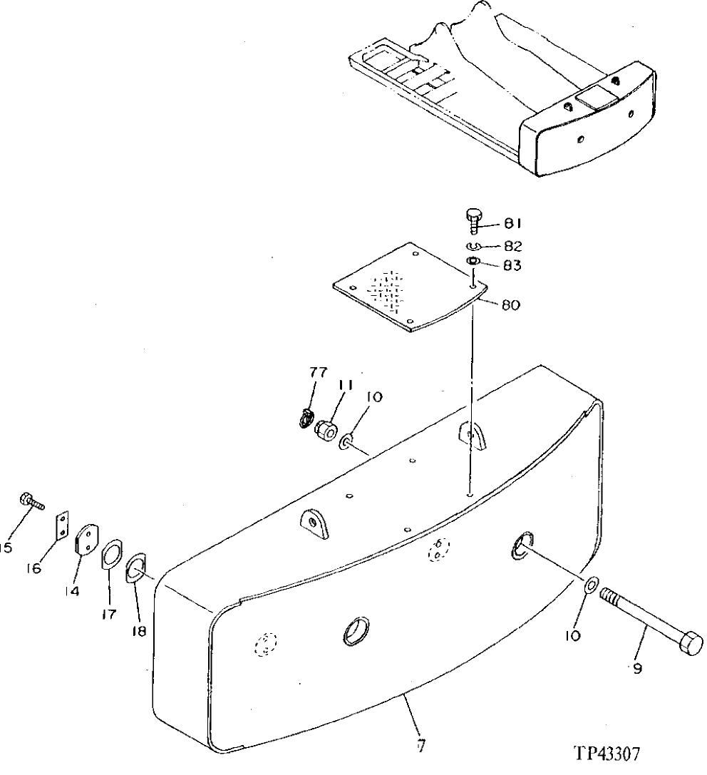
7

AT132015

WEIGHT

(STANDARD) (CONVENIENCE ASSEMBLY)

1шт.

AT132679

COUNTERWEIGHT

(FOR COUNTERWEIGHT REMOVAL DEVICE) (CONVENIENCE ASSEMBLY)

1шт.

9

4221292

BOLT

(SUB FOR AT131903)

2шт.

4246149

BOLT

(SUB FOR AT132680) (FOR COUNTERWEIGHT REMOVAL DEVICE)

2шт.

10

4103743

BUSHING

(SUB FOR AT131690)

4шт.

11

M660045

NUT

(SUB FOR AT131560)

2шт.

4246150

NUT

(SUB FOR AT132682) (FOR COUNTERWEIGHT REMOVAL DEVICE)

2шт.

14

4207761

PLATE

(SUB FOR AT131841)

2шт.

15

J912455

BOLT

(SUB FOR AT131548)

4шт.

16

4070952

STRAP

(SUB FOR AT131678)

2шт.

17

4207762

WASHER

1MM, (SUB FOR AT131842)

10шт.

18

4207763

SHIM

5MM, (SUB FOR AT131843)

2шт.

77

9701925

QUICK LOCK PIN

(SUB FOR AT132681) (FOR COUNTERWEIGHT REMOVAL DEVICE)

2шт.

80

4240982

COVER

(SUB FOR AT132683) (FOR COUNTERWEIGHT REMOVAL DEVICE)

1шт.

81

19M7938

CAP SCREW

M10 X 20, (FOR COUNTERWEIGHT REMOVAL DEVICE)

4шт.

82

12M7066

LOCK WASHER

10 MM, (FOR COUNTERWEIGHT REMOVAL DEVICE)

4шт.

83

24M7028

WASHER

10.500 X 20 X 2 MM, (FOR COUNTERWEIGHT REMOVAL DEVICE)

4шт.

Выбрано товаров: 17