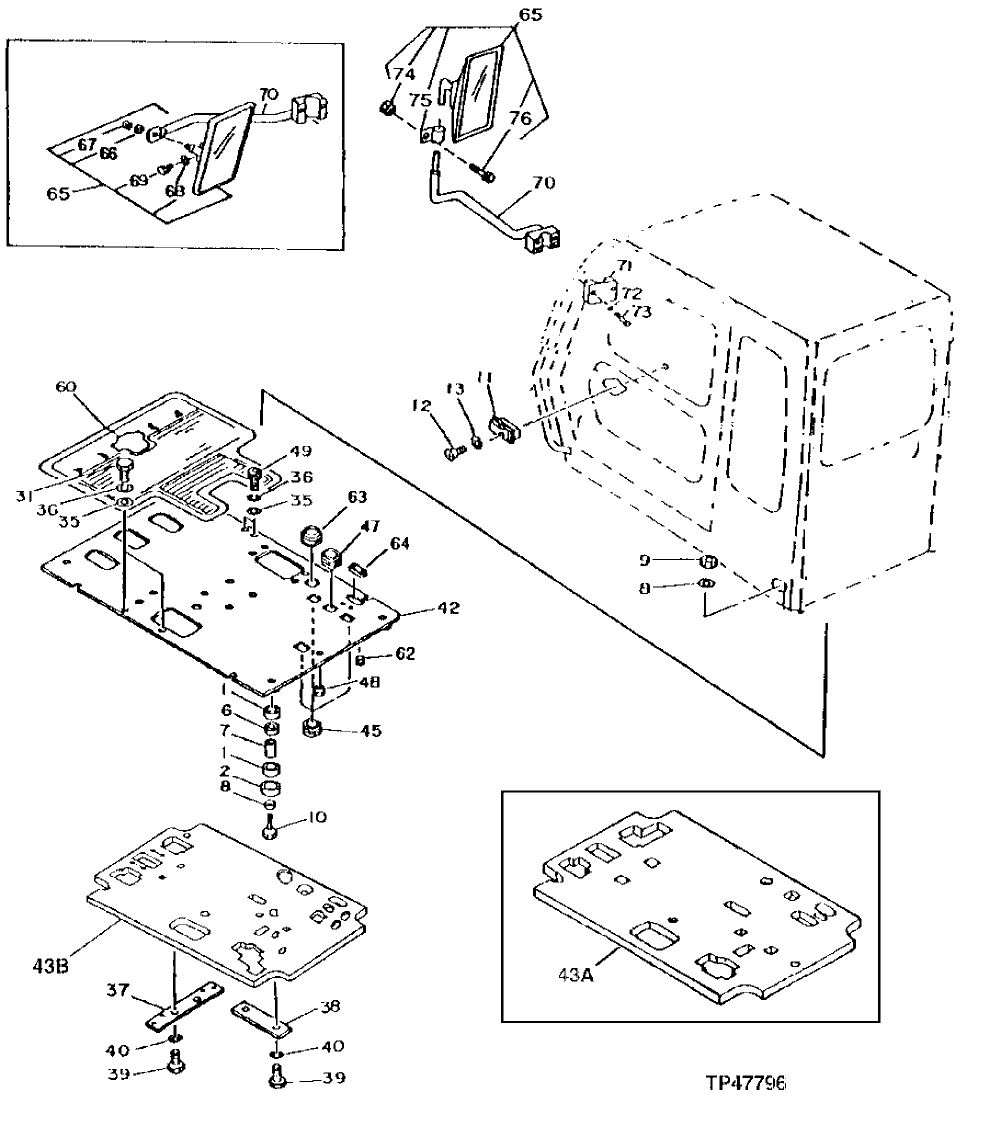
Запчасти John Deere 92DLC 2 - CAB FLOOR AND CAB MOUNTS 1810 - OPERATORS STATION 18

Схема запчастей John Deere 92DLC - 2 - CAB FLOOR AND CAB MOUNTS 1810 - OPERATORS STATION 18
FIT
1:1
100%

Артикул

Название

Примечание

Количество

1

4203877

ISOLATOR

(SUB FOR TH109652)

8шт.

2

4203878

STOP

(SUB FOR TH109653)

4шт.

6

4232703

BUSHING

(SUB FOR AT131942)

4шт.

7

4232702

SPACER

(SUB FOR AT131941)

4шт.

8

4114405

WASHER

(SUB FOR TH101105)

8шт.

9

14M7328

LOCK NUT

M16

4шт.

10

4203189

BOLT

(SUB FOR TH108608)

4шт.

11

4298985

ASHTRAY

(SUB FOR TH101096)

1шт.

12

21M7278

SCREW

M5 X 10

2шт.

13

24M7027

WASHER

5.300 X 10 X 1 MM

2шт.

31

19M7662

CAP SCREW

M10 X 30

2шт.

35

4114402

WASHER

(SUB FOR TH102181)

4шт.

36

12M7066

LOCK WASHER

10 MM

4шт.

37

4205043

PLATE

(SUB FOR TH108611)

1шт.

38

4204646

PLATE

(SUB FOR TH108612)

1шт.

39

19M7938

CAP SCREW

M10 X 20

4шт.

40

12M7066

LOCK WASHER

10 MM

4шт.

42

6008585

PLATE

(SUB FOR TH109654)

1шт.

43A

2038488

PAD

(SUB FOR TH108610) (USE IF AVAILABLE) (IF TH108610 NOT AVAILABLE, SUB AT174792)

1шт.

43B

2038488

PAD

(SUB FOR AT174792)

1шт.

45

4205080

GROMMET

(SUB FOR TH108613)

3шт.

47

4205082

GROMMET

(SUB FOR TH108615)

1шт.

48

4205084

GROMMET

(SUB FOR TH108616)

1шт.

49

19M8337

SCREW

M10 X 30, (SUB FOR TH111012 OR TH111350)

2шт.

60

1011396

MAT

(SUB FOR AT132466)

1шт.

62

4209572

GROMMET

(SUB FOR TH108618)

1шт.

63

4257626

GROMMET

(SUB FOR AT128436)

1шт.

64

4209956

BUSHING

(SUB FOR TH108619)

1шт.

65

4318135

REAR VIEW MIRROR

(LEFT SIDE) (SUB FOR AT103919, THIS APPLICATION) (SUB FOR AT121241)

1шт.

REAR VIEW MIRROR

( TH104119 NO LONGER AVAILABLE) (SUB AT185207 MIRROR AND AT187248 ARM)

1шт.

4420724

REAR VIEW MIRROR

(SUB FOR AT185207)

1шт.

66

12M7056

LOCK WASHER

8 MM, (SUB FOR 12M7065)

1шт.

67

14M7273

NUT

M8

1шт.

68

12H315

LOCK WASHER

4.166 MM, (SUB FOR 12M7063)

3шт.

69

21M7250

SCREW

M4 X 12

3шт.

70

ARM

( 8050401 NO LONGER AVAILABLE) (SUB 8077892 ARM, ALONG WITH 4420724 MIRROR)

1шт.

4420724

REAR VIEW MIRROR

(SUB FOR AT163940) (SUB AT187248) (ALSO ORDER 8077892)

1шт.

8077892

STOP

(SUB FOR AT187248)

1шт.

71

AT219494

CLAMP

(SUB FOR AT131743)

1шт.

72

12M7056

LOCK WASHER

8 MM, (SUB FOR 12M7065)

2шт.

73

19M8359

CAP SCREW

M8 X 45

2шт.

74

14M7400

LOCK NUT

M10

1шт.

75

CLAMP

(NOT AVAILABLE FOR SERVICE)

1шт.

76

03M7193

BOLT

M10 X 35

1шт.

Выбрано товаров: 44