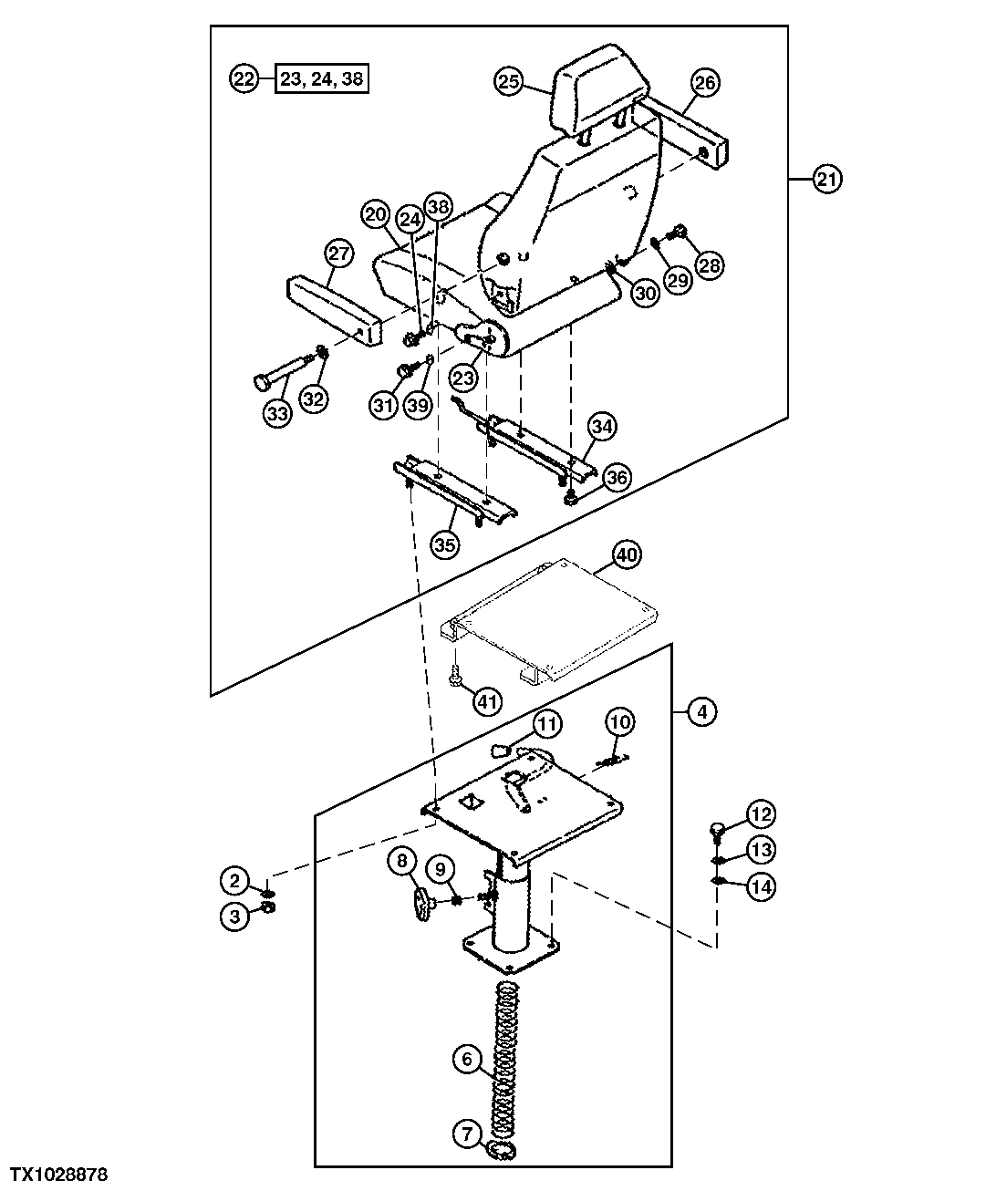
Запчасти John Deere 92DLC 20 - SEAT AND SEAT SUPPORT 1810 - OPERATORS STATION 18

Схема запчастей John Deere 92DLC - 20 - SEAT AND SEAT SUPPORT 1810 - OPERATORS STATION 18
FIT
1:1
100%

Артикул

Название

Примечание

Количество

2

12M7056

LOCK WASHER

8 MM, (SUB FOR 12M7065)

4шт.

3

14M7273

NUT

M8

4шт.

4

4178550

STAND

(SUB FOR TH108740)

1шт.

6

4206087

SPRING

(SUB FOR TH108741)

1шт.

7

3039222

PLATE

(SUB FOR TH108742)

1шт.

8

3039223

KNOB

(SUB FOR TH108743)

1шт.

9

3039221

SPRING

(SUB FOR TH108744)

1шт.

10

3030268

EXTENSION SPRING

(SUB FOR TH101616)

1шт.

11

3030267

GRIP

(SUB FOR TH101615)

1шт.

12

19M7402

CAP SCREW

M10 X 25

4шт.

13

12M7066

LOCK WASHER

10 MM

4шт.

14

24M7028

WASHER

10.500 X 20 X 2 MM

4шт.

20

0368101

CUSHION

(SUB FOR AT126054)

1шт.

21

SEAT

( 4230833 NLA) (VINYL) (WITH HEADREST) (SUB FOR TH112076) (SUB 4679327 ALONG WITH (4) 19M7139, (4) 24M7055, (1) 8112099)

1шт.

SEAT

(VINYL) (WITHOUT HEADREST) ( AT168202 NO LONGER AVAILABLE)

1шт.

4679327

SEAT ASSEMBLY

(VINYL) (WITH HEADREST) (SUB FOR 4230833) (ALONG WITH (4) 19M7139 AND (4) 24M7055)

1шт.

22

0368102

SEAT BACK

(SUB FOR AT126055) (USE WITH TH112076 SEAT WITH HEADREST)

1шт.

0368102

SEAT BACK

(SUB FOR AT168203, 4331470 OR AT126055) (USE WITH AT168202 SEAT WITHOUT HEADREST)

1шт.

23

0340803

ADJUSTER

(SUB FOR TH111648)

1шт.

24

19M7402

CAP SCREW

M10 X 25, (SUB FOR TH104152, ALONG WITH 12M7066)

2шт.

25

0368103

HEAD RESTRAINT

(SUB FOR AT126056) (FOR USE WITH TH112076 SEAT)

1шт.

26

0368104

ARM

RIGHT, (SUB FOR AT126057)

1шт.

27

0368105

ARM

LEFT, (SUB FOR AT126058)

1шт.

28

0262709

BOLT

(SUB FOR TH104153)

1шт.

29

0262710

WASHER

(SUB FOR TH104154)

1шт.

30

12M7056

LOCK WASHER

8 MM, (SUB FOR TH104155) (SUB FOR 12M7065)

1шт.

31

19M7402

CAP SCREW

M10 X 25, (SUB FOR TH104152, ALONG WITH 12M7066)

2шт.

32

0262710

WASHER

(SUB FOR TH104154)

2шт.

33

0340807

BOLT

RIGHT, (SUB FOR TH111652)

2шт.

34

0368106

ADJUSTER

LEFT, (SUB FOR AT126059)

1шт.

35

0304003

ADJUSTER

(SUB FOR TH107001)

1шт.

36

0340808

SCREW

(SUB FOR TH111653)

4шт.

37

AT37833

SEAT BELT

(NOT ILLUSTRATED) (ALSO ORDER T103486) WHOLEGOODS

1шт.

T103486

BOLT

(NOT ILLUSTRATED)

1шт.

38

12M7066

LOCK WASHER

10 MM

2шт.

39

12M7066

LOCK WASHER

10 MM

2шт.

40

8112099

BRACKET

1шт.

41

SCREW WITH WASHER

( J260820 NLA)

4шт.

19M7139

CAP SCREW

(SUB FOR J900820)

4шт.

24M7055

WASHER

(SUB FOR A590108)

4шт.

Выбрано товаров: 40