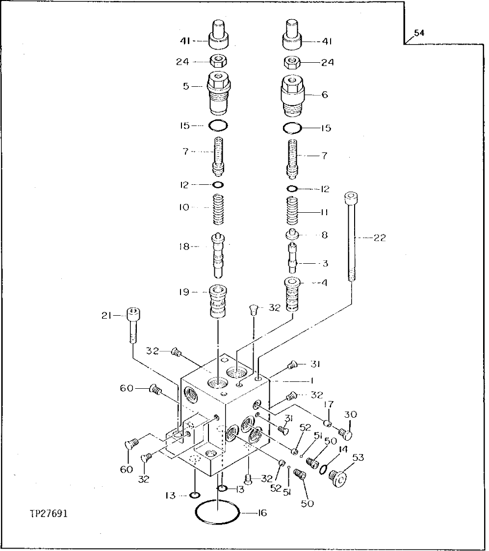
Запчасти John Deere 92DLC 12 - MAIN PUMP REGULATOR COVER 2160 - MAIN HYDRAULIC SYSTEM 21

Схема запчастей John Deere 92DLC - 12 - MAIN PUMP REGULATOR COVER 2160 - MAIN HYDRAULIC SYSTEM 21
FIT
1:1
100%

Артикул

Название

Примечание

Количество

1

COVER

(SUB AT132419)

1шт.

3

SPOOL

(SUB AT132419)

1шт.

4

BUSHING

(SUB AT132419)

1шт.

5

0349901

GUIDE

(SUB FOR AT132204)

1шт.

6

0349902

GUIDE

(SUB FOR AT132205)

1шт.

7

0349903

SCREW

(SUB FOR AT132206)

2шт.

8

0215207

RETAINER

(SUB FOR TH101470)

1шт.

10

0349904

SPRING

(SUB FOR AT132207)

1шт.

11

0215214

SPRING

(SUB FOR TH101477)

1шт.

12

CH10571

PACKING

2шт.

13

4S00054

O-RING

(SUB FOR AT132208)

2шт.

14

M800650

PACKING

1шт.

15

985099

O-RING

(SUB FOR TH101479)

2шт.

16

4S00062

O-RING

(SUB FOR AT132209)

1шт.

17

0281302

ORIFICE

(SUB FOR AT132177)

1шт.

18

SPOOL

(SUB AT132419)

1шт.

19

BUSHING

(SUB AT132419)

1шт.

21

M340836

BOLT

(SUB FOR AT132210, 0349907)

2шт.

22

19M8433

SCREW

M8 X 110, (SUB FOR AT132211)

2шт.

24

14M7274

NUT

M10, (SUB FOR AT132212)

2шт.

30

0215015

FITTING PLUG

(SUB FOR TH101443)

1шт.

31

PLUG

(SUB AT132419)

2шт.

32

PLUG

(SUB AT132419)

5шт.

41

0231207

CAP

(SUB FOR AT133622)

2шт.

50

0215209

FITTING PLUG

(SUB FOR TH101472)

2шт.

51

0215223

BALL

(SUB FOR TH101488)

2шт.

52

0215210

GUIDE

(SUB FOR TH101473)

2шт.

53

0215221

PIPE PLUG

(SUB FOR TH101486)

1шт.

54

4248178

REGULATOR

(SUB FOR AT132419)

1шт.

60

PLUG

(SUB AT132419)

2шт.

Выбрано товаров: 30