Запчасти John Deere 92DLC 20 - VALVE COVER 2160 - MAIN HYDRAULIC SYSTEM 21

Схема запчастей John Deere 92DLC - 20 - VALVE COVER 2160 - MAIN HYDRAULIC SYSTEM 21
FIT
1:1
100%

Артикул

Название

Примечание

Количество

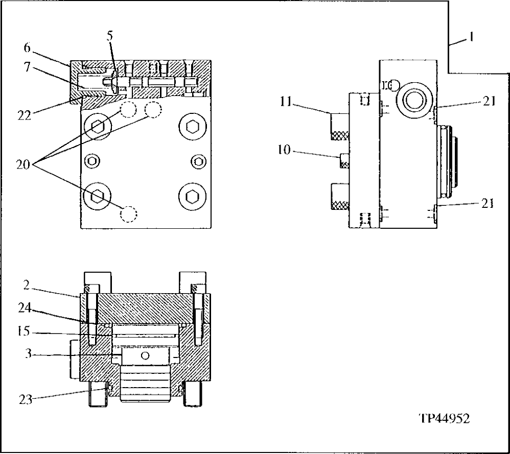
1

4337908

COVER

(SUB FOR AT167093)

1шт.

2

0350201

PLATE

(SUB FOR AT167094)

1шт.

3

0609501

PISTON

(SUB FOR AT167095)

1шт.

5

0215103

RETAINER

(SUB FOR TH101457)

1шт.

6

0311903

FITTING PLUG

(SUB FOR TH109026)

1шт.

7

0311904

SPRING

(SUB FOR TH109027)

1шт.

10

19M8334

SCREW

M6 X 30

2шт.

11

0350203

BOLT

(SUB FOR AT167096)

4шт.

15

0350204

PISTON RING

(SUB FOR AT167097)

1шт.

20

4506408

O-RING

7.800 X 1.900 MM (0.307" X 0.075") (SUB FOR TH101490)

3шт.

21

CH17167

O-RING

9.800 X 1.900 MM (0.386" X 0.075")

2шт.

22

4506418

O-RING

(SUB FOR U46489)

1шт.

23

A811045R

O-RING

(SUB FOR T74492 OR A811045)

1шт.

24

A811050

O-RING

49.400 X 3.100 MM (1.945" X 0.122") (SUB FOR TH101014)

1шт.

Выбрано товаров: 14