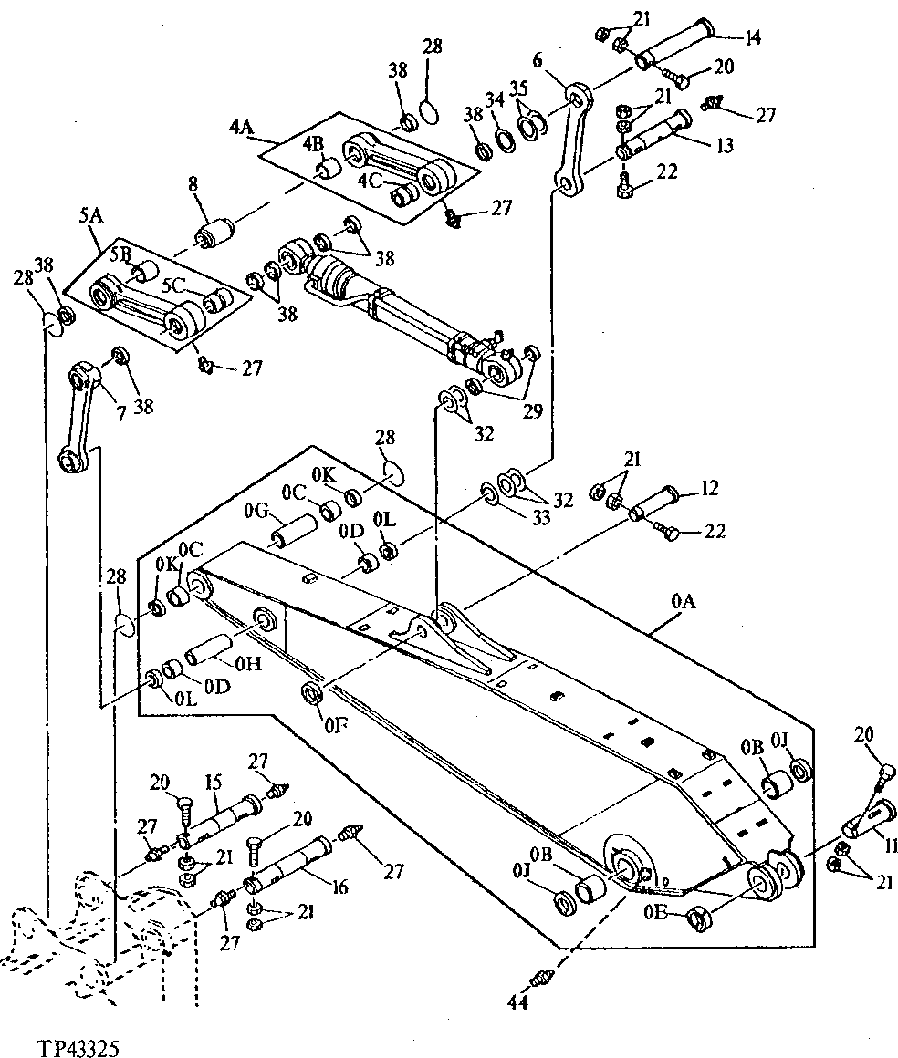
Запчасти John Deere 92DLC 6 - ARM AND BUCKET LINKAGE AND PINS 3340 - EXCAVATOR 33

Схема запчастей John Deere 92DLC - 6 - ARM AND BUCKET LINKAGE AND PINS 3340 - EXCAVATOR 33
FIT
1:1
100%

Артикул

Название

Примечание

Количество

0A

AT131524

ARM

16', 1" (DO NOT USE WITH 1.8 CU. METER BUCKET OR 2.0 CU. METER BUCKET) WHOLEGOODS (WHEN ORDERED TO REPLACE 2.9 METER (9'6") ARM OR 3.9 METER (12'10") ARM, ALSO REQUIRES 892D-LC BUCKET CYLINDER, BUCKET, BUCKET LINKAGE WITH PINS, AND TWO HOSES

1шт.

0B

3055205

BUSHING

(SUB FOR AT131643) (USE IF AVAILABLE)

2шт.

3055205

BUSHING

(SUB FOR AT131643) (SUB FOR AT201685)

2шт.

0C

TH103214

BUSHING

2шт.

0D

TH103216

BUSHING

2шт.

0E

4662435

STOP

(SUB FOR AT131769 OR 4205110)

1шт.

0F

TH102409

BUSHING

1шт.

0G

4143370

SPACER

(SUB FOR TH103215)

1шт.

0H

4143371

SPACER

(SUB FOR TH103217)

1шт.

0J

AT131684

SEAL

2шт.

0K

TH102411

SEAL

2шт.

0L

TH102445

SEAL

(I.D. 100 MM - O.D. 115 MM)

2шт.

4A

8037697

LINK

(SUB FOR TH111489)

1шт.

4B

3028854

BUSHING

(SUB FOR TH103221)

1шт.

4C

TH111170

BUSHING

1шт.

5A

8037698

LINK

(SUB FOR TH111490)

1шт.

5B

3028854

BUSHING

(SUB FOR TH103221)

1шт.

5C

TH111170

BUSHING

1шт.

6

3026104

LINK

(SUB FOR TH103223)

1шт.

7

8026311

LINK

(SUB FOR TH103222)

1шт.

8

4155763

BUSHING

(SUB FOR TH103224)

1шт.

11

AT128428

PIN FASTENER

1шт.

12

TH103204

PIN

1шт.

13

TH111181

PIN FASTENER

1шт.

14

TH111182

PIN FASTENER

1шт.

15

TH112086

PIN FASTENER

1шт.

16

AT164648

PIN FASTENER

(SUB FOR TH112087)

1шт.

19

4100180

O-RING

(STANDARD O-RING)

4шт.

20

19M8100

CAP SCREW

M20 X 180, (SUB FOR TH103500)

4шт.

21

14M7277

NUT

M20

12шт.

22

19M8503

CAP SCREW

M20 X 160

2шт.

27

TH100074

LUBRICATION FITTING

7шт.

28

4100180

O-RING

(STANDARD O-RING)

4шт.

AT349467

SEAL

(SPLIT O-RING)

4шт.

29

TH102445

SEAL

(I.D. 100 MM - O.D. 115 MM)

2шт.

32

TH106307

WASHER

1.6MM

4шт.

33

TH106308

WASHER

2.3MM

1шт.

34

4189838

WASHER

1.6MM, (SUB FOR TH106306)

1шт.

35

4189839

WASHER

2.3MM, (SUB FOR TH106305)

2шт.

38

TH102411

SEAL

8шт.

44

JD7769

LUBRICATION FITTING

(SUB FOR TH100364)

2шт.

Выбрано товаров: 41