Запчасти John Deere 92DLC 54 - COUNTERWEIGHT LIFT CYLINDER 3360 - EXCAVATOR 33

Схема запчастей John Deere 92DLC - 54 - COUNTERWEIGHT LIFT CYLINDER 3360 - EXCAVATOR 33
FIT
1:1
100%

Артикул

Название

Примечание

Количество

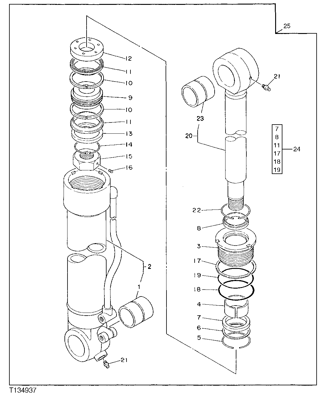
1

0188905

BUSHING

(SUB FOR AT132686)

1шт.

2

4263607

HYDRAULIC CYLINDER BARREL

(SUB FOR AT132684)

1шт.

3

0188903

CYLINDER HEAD

(SUB FOR AT132689)

1шт.

4

988681

WEAR RING

(SUB FOR TH106302)

1шт.

5

AT132690

SNAP RING

(SUB FOR 4004663)

1шт.

6

4004664

SEAL

(SUB FOR AT132691)

1шт.

7

4085460

SEAL

(A) (SUB FOR AT132692)

1шт.

8

0162402

RING

(A) (SUB FOR AT132693)

1шт.

9

4067376

PISTON

(SUB FOR AT132694)

1шт.

10

954990

O-RING

(SUB FOR AT130882)

2шт.

11

4085429

SEAL

(A) (SUB FOR TH105044)

2шт.

12

0392605

HALF CLAMP

(SUB FOR AT132695)

1шт.

13

4508158

HALF CLAMP

(SUB FOR AT132696)

1шт.

14

4510850

RING

(SUB FOR AT132697)

1шт.

15

0178604

NUT

(SUB FOR AT132698)

1шт.

16

4085441

SET SCREW

(SUB FOR AT132699)

1шт.

17

4508160

WASHER

(A) (SUB FOR AT130884)

1шт.

18

AT264373

O-RING

(A) (SUB FOR TH105038, 4038304)

1шт.

19

4049492

O-RING

(A) (SUB FOR TH105040)

1шт.

20

4263608

ROD

(SUB FOR AT132687)

1шт.

21

TH100074

LUBRICATION FITTING

2шт.

22

934307

SNAP RING

(SUB FOR AT128424)

1шт.

23

0188905

BUSHING

(SUB FOR AT132686)

1шт.

24

4263025

SEAL KIT

(INCLUDES PARTS MARKED (A)) (SUB FOR AT128425)

1шт.

25

2012857

CYLINDER

(SUB FOR AT132467)

1шт.

Выбрано товаров: 25