Запчасти John Deere 92DLC 58 - MAIN PUMP TO MAIN CONTROL VALVE HOSES 3360 - EXCAVATOR 33

Схема запчастей John Deere 92DLC - 58 - MAIN PUMP TO MAIN CONTROL VALVE HOSES 3360 - EXCAVATOR 33
FIT
1:1
100%

Артикул

Название

Примечание

Количество

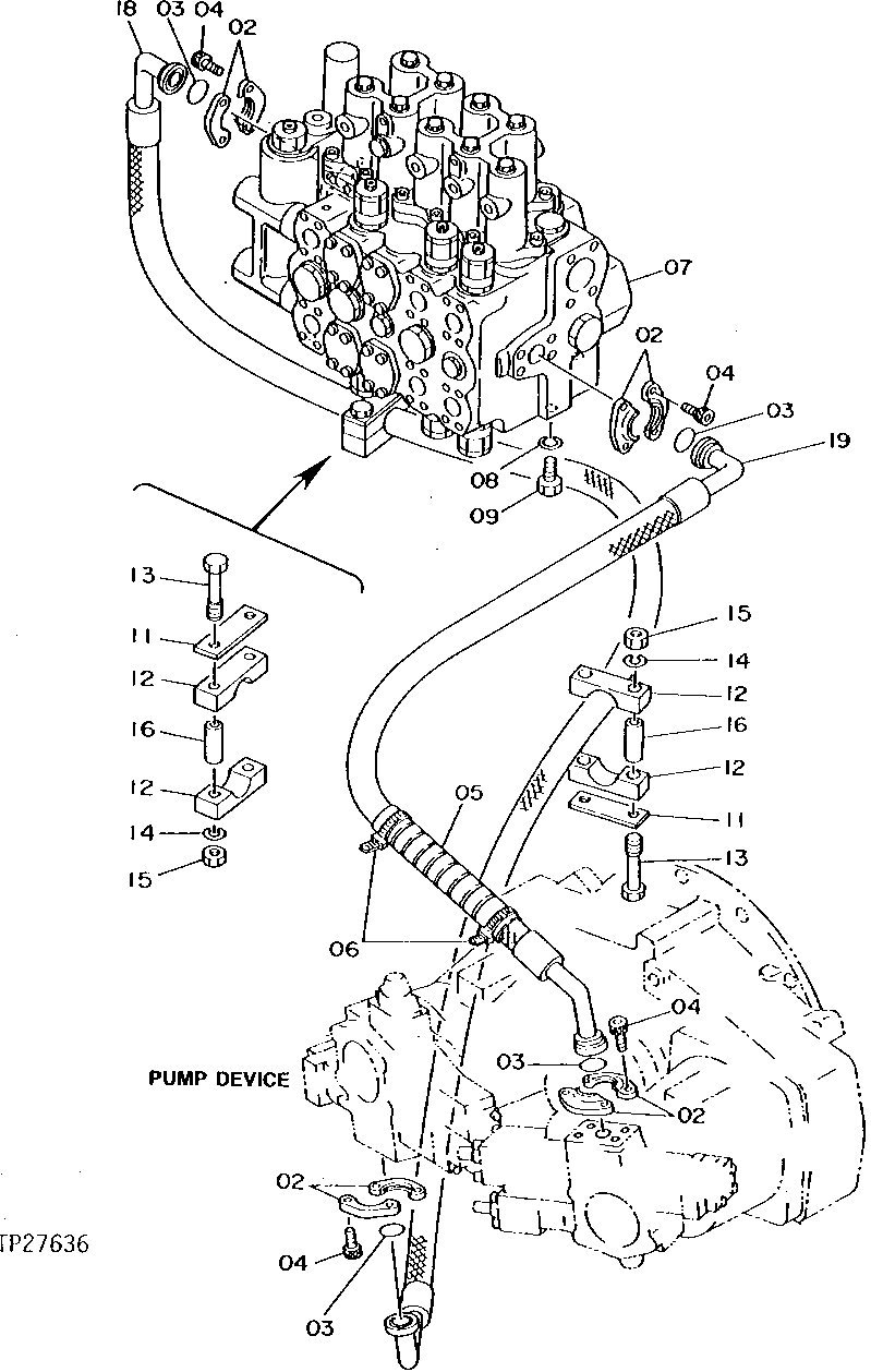
2

AT131685

FLANGE FITTING

8шт.

3

T72216

O-RING

4шт.

4

19M8734

SCREW

M14 X 45, (SUB FOR TH102991)

16шт.

5

HOSE GUARD

(MAKE FROM XHG-075 BULK MATERIAL, CUT TO LENGTH) (SUB FOR TH100996, AT138222 OR 3052919) (USE WITH AT131982 HOSE)

1шт.

6

H77698

TIE BAND

(USE WITH AT131982 HOSE)

2шт.

7

4296334

HYD ACTUATED CONTROL VALVE

(SUB FOR AT131804, AT130927, AT131432, AT186105 AND 4296334EX)

1шт.

8

12M7070

LOCK WASHER

20 MM

4шт.

9

19M7950

CAP SCREW

M20 X 45, (SUB FOR AT131544)

4шт.

11

4207038

STRAP

(SUB FOR AT131811)

2шт.

12

4207036

CLAMP

(SUB FOR AT131809)

4шт.

13

J901201

BOLT

(SUB FOR TH101986)

4шт.

14

12H301

LOCK WASHER

1/2"

4шт.

15

14M7275

NUT

M12

4шт.

16

4207037

SPACER

(SUB FOR AT131810)

4шт.

18

AT131981

HYDRAULIC HOSE - FABRICATE

1-1/4" X 2 350 MM (92-1/2") X 1-1/4"

1шт.

19

HYDRAULIC HOSE

(SUB AT134362) ( AT131982 NO LONGER AVAILABLE)

1шт.

4302001

HYDRAULIC HOSE

(SUB FOR AT134362)

1шт.

Выбрано товаров: 17