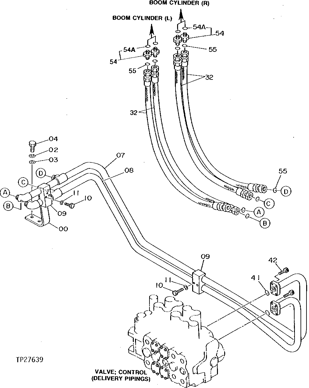
Запчасти John Deere 92DLC 70 - HIGH PRESSURE HYDRAULIC HOSES AND LINES 3360 - EXCAVATOR 33

Схема запчастей John Deere 92DLC - 70 - HIGH PRESSURE HYDRAULIC HOSES AND LINES 3360 - EXCAVATOR 33
FIT
1:1
100%

Артикул

Название

Примечание

Количество

0

3038898

BRACKET

(SUB FOR AT131632)

1шт.

2

12H301

LOCK WASHER

1/2"

2шт.

3

24H1748

WASHER

1/2" X 1-1/4" X 0.105"

2шт.

4

19M7493

CAP SCREW

M12 X 40

2шт.

7

7018465

OIL LINE

(SUB FOR AT132040)

1шт.

8

7018466

OIL LINE

(SUB FOR AT132041)

1шт.

9

4205816

CLAMP

(SUB FOR AT131793)

2шт.

10

19M8088

CAP SCREW

M12 X 75, (SUB FOR AT131540)

4шт.

11

12H301

LOCK WASHER

1/2"

4шт.

32

AT131774

HYDRAULIC HOSE - FABRICATE

1-7/16" X 1 100 MM (43-1/4") X 1-7/16", (BOOM CYLINDER)

4шт.

41

T72216

O-RING

2шт.

42

19M8734

SCREW

M14 X 45, (SUB FOR TH102991)

8шт.

54

4189535

ADAPTER FITTING

(SUB FOR AT114853)

4шт.

54A

TH101926

O-RING

1шт.

55

T76938

O-RING

(SUB FOR TH108326)

8шт.

Выбрано товаров: 15