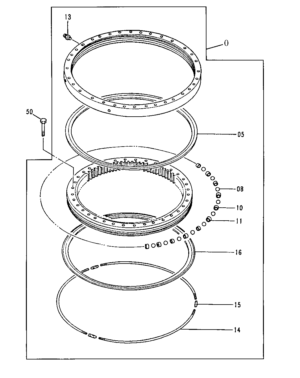
Запчасти John Deere 92ELC 118 - Swing Bearing 1740 Frame Installation

Схема запчастей John Deere 92ELC - 118 - Swing Bearing 1740 Frame Installation
FIT
1:1
100%

Артикул

Название

Примечание

Количество

0

AT201935

Swing Bearing

NLA, (ORDER AT190772)

1шт.

AT190772

Roller

NLA, (ORDER 9129521EX)

1шт.

9129521EX

Swing Bearing

(SUB FOR AT190772) (REMAN FOR AT201935)

1шт.

5

T203958

Seal

4631753 NLA, (SUB FOR T191211 AND AT131 732 ) (SUB FOR 4199645)(ALSO ORDER TY2151 7 ADHESIVE AND AT66866 CLEANING SOLVENT)

1шт.

AT66866

Fluid

1шт.

TY21517

Adhesive

1шт.

8

Ball

(SUB FOR AT131730)(CONTAIN S 81 PIECES) ( 4199643 NLA)

1шт.

10

Support

(SUB FOR AT131699)( 4128130 NLA)

75шт.

11

Support

(SUB FOR AT131700)( 4128131 NLA)

6шт.

13

TH100074

Lubrication Fitting

1шт.

14

4337056

Rod

(SUB FOR AT202154)

3шт.

15

4245212

Turnbuckle

(SUB FOR AT202102)

3шт.

16

4622507

Seal

(SUB FOR AT202155 OR 4337058)

1шт.

50

J932709

Bolt

M27 X 145 (SUB FOR AT131551)

36шт.

Выбрано товаров: 14