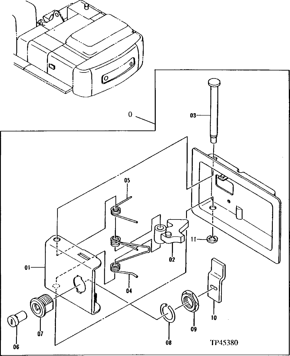
Запчасти John Deere 92ELC 162 - DOOR LOCK 1910 Hood Or Engine Enclosure

Схема запчастей John Deere 92ELC - 162 - DOOR LOCK 1910 Hood Or Engine Enclosure
FIT
1:1
100%

Артикул

Название

Примечание

Количество

0

Lock

(SUB AT214010)( AT2023 66 NO LONGER AVAILABLE)

1шт.

1

4355969

Latch

(SUB FOR TH102242)

1шт.

2

9741195

Lever

(SUB FOR AT202378)

1шт.

3

4355972

Pin Fastener

(SUB FOR TH102230)

1шт.

4

4320662

Spring

(SUB FOR AT202324)

1шт.

5

4355974

Torsion Spring

(SUB FOR TH102243)

1шт.

6

4361411

Lock

(SUB FOR TH110128 ) (SUB FOR AT206102)

1шт.

7

4134325

Lock

(SUB FOR TH110129 ) (SUB FOR TH102236)

1шт.

8

4355979

Ring

(SUB FOR TH102237, 4134322)

1шт.

9

4355980

Nut

(SUB FOR TH102238, 4134323)

1шт.

10

4355981

Strap

(SUB FOR TH102232, 4134331)

1шт.

11

CH11490

Ring

1шт.

Выбрано товаров: 12