Запчасти John Deere 92ELC 166 - Main Hydraulic Pump 2160 Vehicle Hydraulics

Схема запчастей John Deere 92ELC - 166 - Main Hydraulic Pump 2160 Vehicle Hydraulics
FIT
1:1
100%

Артикул

Название

Примечание

Количество

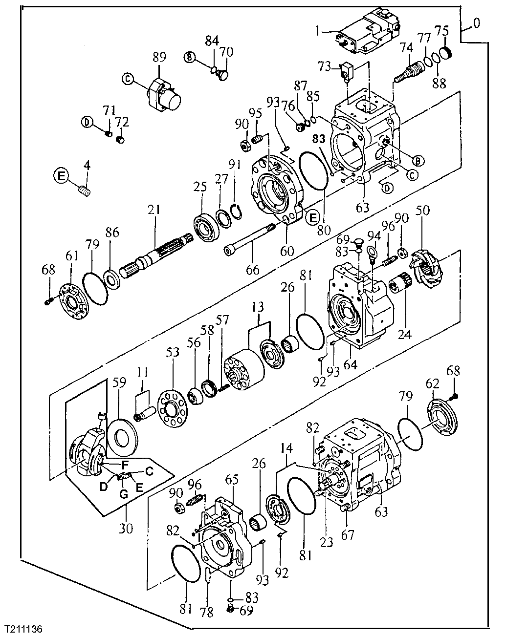
0

Hydraulic Pump

AT201938, AT217354 NLA

1шт.

Hydraulic Pump

REMAN, AT183129 AND 9168808EX NLA Units Built Before December 2004

1шт.

PG200073

Hydraulic Pump Reman

REMAN, SUB FOR 9255724 Units Built December 2004 And After

1шт.

1

4332607

Regulator

SUB FOR AT201788

2шт.

4

15H560

Pipe Plug

1/16"

28шт.

11

Piston

0451001 OR AT201599 NLA, SU B 0416501, ALONG WITH 0416502

2шт.

0416501

Piston

SUB FOR AT183121

2шт.

13

0451002

Cylinder

SUB FOR AT201600

1шт.

14

0451003

Rotor

SUB FOR AT201601

1шт.

21

0451007

Shaft

SUB FOR AT204907

1шт.

23

0451008

Shaft

SUB FOR AT201605

1шт.

24

0451009

Coupling

SUB FOR AT201606

1шт.

25

0451010

Cylindrical Roller Bearing

SUB FOR AT201607

2шт.

26

0451011

Needle Bearing

SUB FOR AT201608

2шт.

27

0451012

Spacer

SUB FOR AT201609

3шт.

30

0451004

Plate

SUB FOR AT201602

2шт.

30C

0451042

Lever

1шт.

30D

0313109

Bolt

SUB FOR AT201603

1шт.

30E

0195147

Dowel Pin

1шт.

30F

0451043

Pin

1шт.

30G

0451006

Lock Washer

SUB FOR AT201604

1шт.

50

0451013

Impeller

SUB FOR AT201610

1шт.

53

Retainer

AT201611 OR 0451014 NLA, SU B 0416502, ALONG WITH 0416501

2шт.

0416502

Retainer

SUB FOR AT183122

2шт.

56

0451015

Bushing

SUB FOR AT201612

2шт.

57

0451016

Spring

SUB FOR AT201613

18шт.

58

0820416

Bushing

SUB FOR 0451017 AND AT201614

2шт.

59

0451018

Plate

SUB FOR AT201615

2шт.

60

0451019

Support

SUB FOR AT201616

2шт.

61

0451020

Cover

SUB FOR AT201617

1шт.

62

0451021

Cover

SUB FOR AT201618

1шт.

63

Housing

NLA

2шт.

64

Valve Cover

NLA

1шт.

65

Valve Cover

NLA

1шт.

66

0451025

Bolt

SUB FOR AT201619

4шт.

67

0451026

Bolt

SUB FOR AT201620

4шт.

68

19M8446

Screw

M8 X 20

8шт.

Выбрано товаров: 37