Запчасти John Deere 92ELC 194 - PILOT PIPINGS 2160 Vehicle Hydraulics

Схема запчастей John Deere 92ELC - 194 - PILOT PIPINGS 2160 Vehicle Hydraulics
FIT
1:1
100%

Артикул

Название

Примечание

Количество

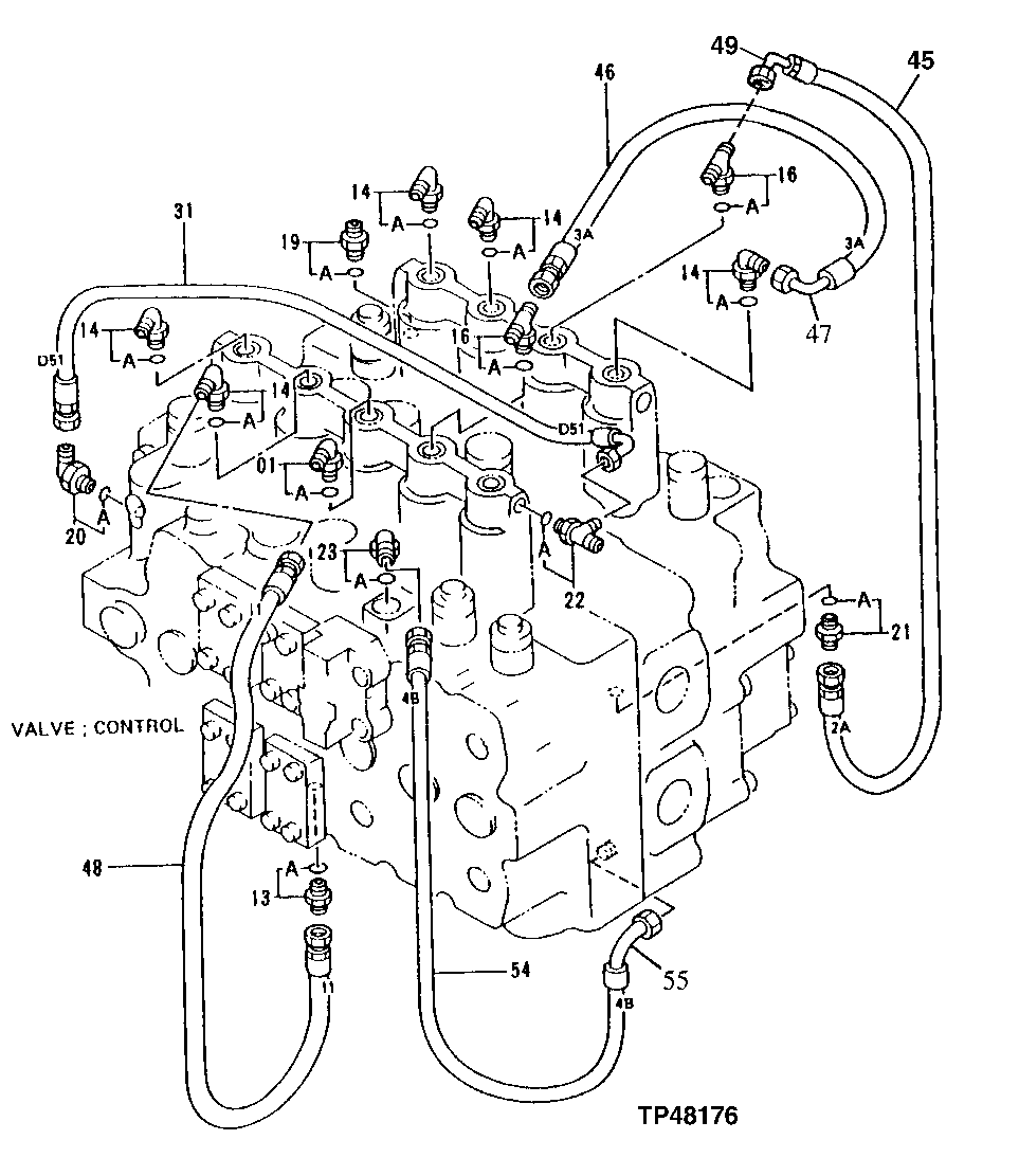
1

4200470

Elbow Fitting

(SUB FOR AT131737)

1шт.

1A

CH11570

O-Ring

1шт.

13

4200466

Adapter Fitting

(SUB FOR TH108320)

1шт.

13A

CH11570

O-Ring

1шт.

14

A852333

Elbow Fitting

(SUB FOR TH101047 ) (SUB FOR 4154671)

5шт.

14A

CH11570

O-Ring

1шт.

16

4208911

Tee Fitting

(SUB FOR TH110202)

2шт.

16A

CH11570

O-Ring

1шт.

19

4200465

Adapter Fitting

(SUB FOR TH108328)

1шт.

19A

M800650

Packing

1шт.

20

4154670

Elbow Fitting

(SUB FOR TH100951)

1шт.

20A

M800650

Packing

1шт.

21

4200467

Adapter Fitting

(SUB FOR TH108417)

1шт.

21A

M800650

Packing

1шт.

22

4203171

Tee Fitting

(SUB FOR TH110578)

1шт.

22A

M800650

Packing

1шт.

23

AT318014

Elbow Fitting

(SUB FOR 4156434 ) (SUB FOR TH101930)

1шт.

23A

M800650

Packing

1шт.

31

T111283

Hydraulic Hose

(SUB FOR AT202236)

1шт.

45

AT48434

Hydraulic Hose

(SUB FOR AT130511 OR AT17 1847, ALONG WITH AU43156)

1шт.

46

T111675

Hydraulic Hose

(SUB FOR AT202190 OR AT17 7134, ALONG WITH AE24616)

1шт.

47

AE24616

Elbow Fitting

1шт.

48

AT48434

Hydraulic Hose

(SUB FOR AT130511)

1шт.

49

AU43156

Elbow Fitting

1шт.

54

AT48428

Hydraulic Hose

1шт.

55

AE24616

Elbow Fitting

1шт.

Выбрано товаров: 0