Качественные детали и логистика
Оригинальные и аналоговые запчасти с доставкой по России, Казахстану и Беларуси
©2022 PartSell ООО "Система" ИНН 2463123282 ОГРН 1212400004838
Центральный офис: г. Красноярск, Академика Киренского, д.87, пом.4
Телефон: 8 (800) 777-65-74 Email: zakaz@partsell.ru
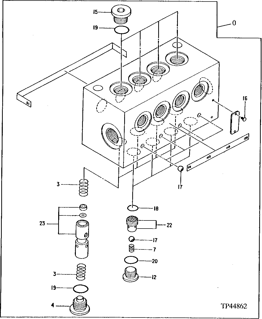
204 - Flow Control Valve
№
Артикул
Название
Примечание
Количество
0
4335088
Hyd Actuated Control Valve
(SUB FOR AT201801)
1шт.
3
0309801
Spring
(SUB FOR TH109280)
8шт.
4
0309802
Pipe Plug
(SUB FOR TH109281)
4шт.
7
0309803
(SUB FOR TH109282)
12
AT49216
Fitting Plug
15
15M7036
Drain Plug
(SUB FOR TH109285 OR 0309805)
16
0208717
Screw
(SUB FOR TH102697)
2шт.
17
L38718
Ball
6 mm
18
CH11569
Packing
19
CH11570
O-Ring
20
R26448
11.887 X 1.981 mm
22
0309810
Filter
(SUB FOR TH109290)
23
0352401
Plunger
(SUB FOR AT132273)
Выбрано товаров: 0