Запчасти John Deere 92ELC 241 - Auxiliary Foot Control Valve 3315 Control Linkage

Схема запчастей John Deere 92ELC - 241 - Auxiliary Foot Control Valve 3315 Control Linkage
FIT
1:1
100%

Артикул

Название

Примечание

Количество

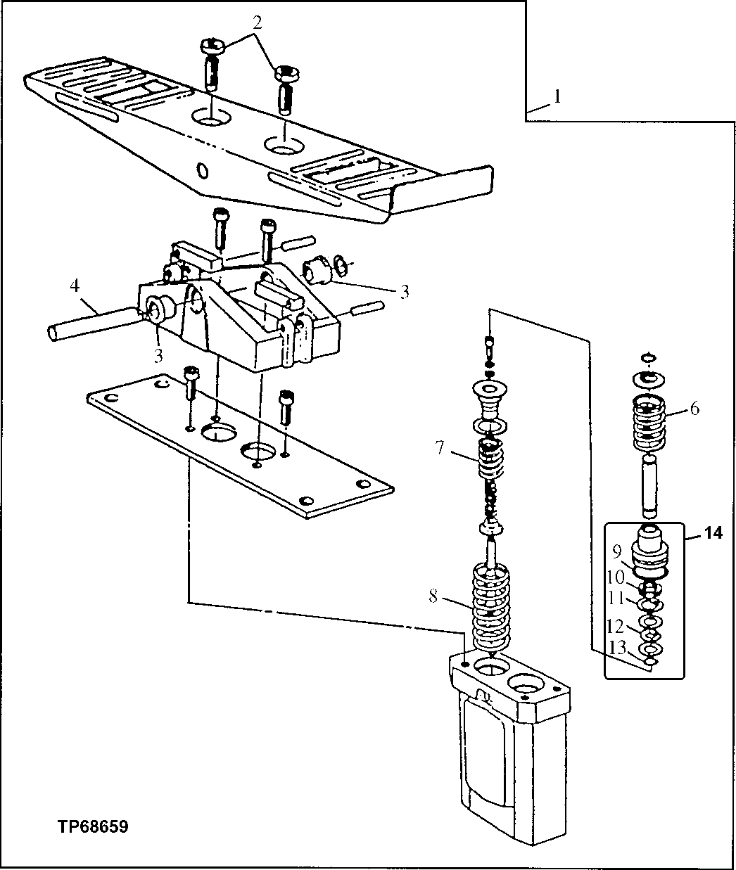
1

AT152120

Valve

WHOLEGOODS

1шт.

2

14M7151

Nut

M8

2шт.

3

T139695

Bushing

2шт.

4

T139696

Shaft

1шт.

6

T139694

Spring

2шт.

7

T139693

Spring

2шт.

8

T114617

Spring

2шт.

9

O-Ring

1шт.

10

Washer

1шт.

11

Washer

1шт.

12

Washer

1шт.

13

O-Ring

1шт.

14

AT115146

Seal Kit

1шт.

Выбрано товаров: 13