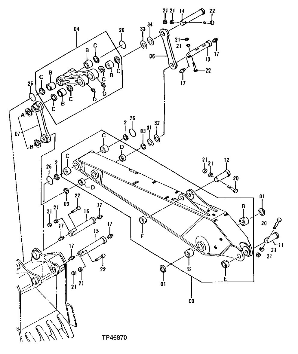
Запчасти John Deere 92ELC 246 - STANDARD ARM (3 9 M - 12 FT 10 IN ) ( - 006003) 3340 BACKHOE AND EXCAVATOR FRAMES

Схема запчастей John Deere 92ELC - 246 - STANDARD ARM (3 9 M - 12 FT 10 IN ) ( - 006003) 3340 BACKHOE AND EXCAVATOR FRAMES
FIT
1:1
100%

Артикул

Название

Примечание

Количество

0

Arm

( AT131515 NO LONGER AVAILABLE)

1шт.

0B

3055205

Bushing

(SUB FOR AT131643)(USE IF AVAILABLE)

2шт.

3055205

Bushing

(SUB FOR AT131643 ) (SUB FOR AT201685)

2шт.

0C

4207271

Bushing

110 X 130 X 85 mm (SUB FOR AT131819)

2шт.

0D

TH103214

Bushing

100 X 115 X 60 mm

2шт.

0E

4662435

Stop

(SUB FOR AT131769 OR 4205110)

1шт.

0F

Plate

( TH103198 NLA)

1шт.

1

AT131684

Seal

2шт.

2

AT131682

Seal

2шт.

3

TH102411

Seal

2шт.

4

9114176

Link

(SUB FOR AT201931)

1шт.

4B

AT201695

Bushing

4шт.

4C

AT131682

Seal

6шт.

4D

TH100074

Lubrication Fitting

2шт.

6

8050176J

Link

(SUB FOR AT201887 OR 8050176)

1шт.

7

8050178J

Link

(SUB FOR AT201888 OR 8050178)

1шт.

7A

4271095

Stop

(SUB FOR AT203620)

1шт.

7B

4271654

Stop

(SUB FOR AT201735)

1шт.

11

AT128428

Pin Fastener

1шт.

12

AT131627

Pin Fastener

105 X 324 mm

1шт.

13

3055219

Pin Fastener

(SUB FOR AT201687)

1шт.

14

DH300061

Pin Fastener

(SUB FOR AT201694)

1шт.

15

AT201692

Pin Fastener

1шт.

16

AT201693

Pin Fastener

1шт.

17

TH100074

Lubrication Fitting

6шт.

20

19M8100

Cap Screw

M20 X 180

2шт.

21

14M7277

Nut

M20

12шт.

22

4276312R

Bolt

(SUB FOR AT202121)

4шт.

26

4288572

O-Ring

(SUB FOR AT201748)

4шт.

31

4134370R

Shim

(SUB FOR AT202083 OR 4134370)

1шт.

32

4134371R

Shim

(SUB FOR AT131702 OR 4134371)

1шт.

33

4134372

Washer

(SUB FOR AT202084)

1шт.

34

4134373R

Shim

(SUB FOR AT131703 OR 4134373)

1шт.

Выбрано товаров: 33