Запчасти John Deere 92ELC 255 - DRAIN PIPINGS ( - 006162) 3360 HYDRAULIC SYSTEM

Схема запчастей John Deere 92ELC - 255 - DRAIN PIPINGS ( - 006162) 3360 HYDRAULIC SYSTEM
FIT
1:1
100%

Артикул

Название

Примечание

Количество

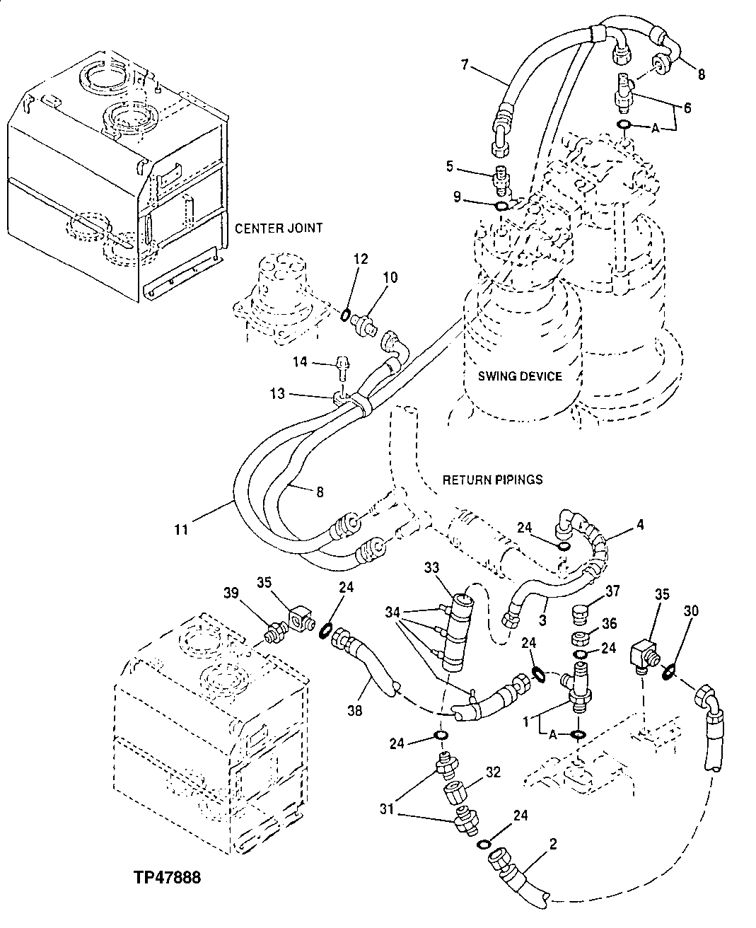
1

4218070

Tee Fitting

SUB FOR AT200408

1шт.

1A

AT318035

O-Ring

SUB FOR 4506424, TH100055

1шт.

2

4300369

Hose

SUB FOR AT173776

1шт.

3

4247572

Hydraulic Hose

SUB FOR AT202108

1шт.

4

Hose Guard

MAKE FROM XHG-075, BULK MATERIAL , CUT TO LENGTH SUB FOR AT138222

1шт.

5

X8-10F5OX

Adapter Fitting

SUB FOR TH110204 OR TH1 01006, ALONG WITH U46489

1шт.

6

4217343

Tee Fitting

SUB FOR AT131873

1шт.

6A

4506418

O-Ring

SUB FOR U46489

1шт.

7

4343216

Hydraulic Hose

SUB FOR AT202346

1шт.

8

AT131926

Hydraulic Hose

1шт.

9

4506418

O-Ring

SUB FOR U46489

1шт.

10

X8-10F5OX

Adapter Fitting

SUB FOR TH110204 OR TH1 01006, ALONG WITH U46489

1шт.

11

4313161

Hydraulic Hose

SUB FOR AT202192

1шт.

12

4506418

O-Ring

SUB FOR U46489

1шт.

13

4190266

Clip

SUB FOR TH108793

1шт.

14

19M7402

Cap Screw

1шт.

12M7066

Lock Washer

1шт.

24

T77858

O-Ring

5шт.

30

T77858

O-Ring

1шт.

31

4208967

Adapter Fitting

SUB FOR AT173777

2шт.

32

94-0678

Fitting

SUB FOR AT173781

1шт.

33

4219918

Isolator

SUB FOR TH111416

1шт.

34

H77698

Tie Band

3шт.

35

4281216

Elbow Fitting

SUB FOR AT173778

2шт.

36

38H1356

Tube Nut

1шт.

37

4189094

Fitting Plug

1шт.

38

4364710

Hose

SUB FOR AT173775

1шт.

39

94-1605

Reducer

SUB FOR AT173779

1шт.

Выбрано товаров: 28