Запчасти John Deere 92ELC 256 - DRAIN PIPINGS ( - 006162) 3360 HYDRAULIC SYSTEM

Схема запчастей John Deere 92ELC - 256 - DRAIN PIPINGS ( - 006162) 3360 HYDRAULIC SYSTEM
FIT
1:1
100%

Артикул

Название

Примечание

Количество

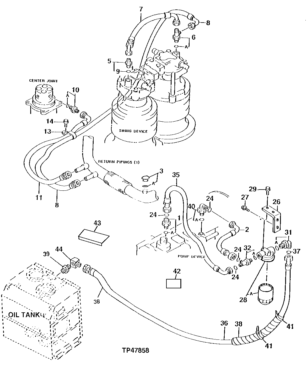
1

A853166

Adapter Fitting

(K) (SUB FOR AT107392 OR 4189619)

1шт.

1A

AT318035

O-Ring

(SUB FOR 4506424, TH100055)

1шт.

2

4300369

Hose

(K) (SUB FOR AT173776)

1шт.

3

4174542

Drain Plug

(K) (SUB FOR TH110478)

1шт.

3A

AT318035

O-Ring

(SUB FOR 4506424, TH100055)

1шт.

5

X8-10F5OX

Adapter Fitting

(SUB FOR TH110204 OR TH1 01006, ALONG WITH U46489)

1шт.

6

4217343

Tee Fitting

(SUB FOR AT131873)

1шт.

6A

4506418

O-Ring

(SUB FOR U46489)

1шт.

7

4343216

Hydraulic Hose

(SUB FOR AT202346)

1шт.

8

AT131926

Hydraulic Hose

1шт.

9

4506418

O-Ring

(SUB FOR U46489)

1шт.

10

X8-10F5OX

Adapter Fitting

(SUB FOR TH110204 OR TH1 01006, ALONG WITH U46489)

1шт.

10A

4506418

O-Ring

(SUB FOR U46489)

1шт.

11

4313161

Hydraulic Hose

(SUB FOR AT202192)

1шт.

13

4190266

Clip

(SUB FOR TH108793)

1шт.

14

19M7402

Cap Screw

1шт.

12M7066

Lock Washer

1шт.

24

T77858

O-Ring

(K)

4шт.

26

4362407

Bracket

(K) (SUB FOR AT175915)

1шт.

27

19M8011

Cap Screw

(K)

2шт.

12M7058

Lock Washer

(K) (SUB FOR 12M7067)

2шт.

14M7275

Nut

(K)

2шт.

28

4362444

Filter

(K) (SUB FOR AT175916)

1шт.

28A

4363399

Filter Element

(SUB FOR AT175919)

1шт.

29

19M7402

Cap Screw

(K)

2шт.

12M7066

Lock Washer

(K)

2шт.

31

4189535

Adapter Fitting

(K) (SUB FOR AT114853)

1шт.

31A

TH101926

O-Ring

1шт.

32

4257724

Tee Fitting

(K) (SUB FOR AT175917)

1шт.

32A

TH101926

O-Ring

1шт.

35

AT202461

Hydraulic Hose

(K)

1шт.

36

Hydraulic Hose

(K) (2700 MM LONG)

1шт.

37

T76938

O-Ring

(K)

2шт.

38

Hose Guard

1шт.

39

94-1605

Reducer

(SUB FOR AT173779)

1шт.

40

A853388

Elbow Fitting

(K) (SUB FOR TH108325 OR 4198799)

1шт.

40A

TH101926

O-Ring

1шт.

41

H77698

Tie Band

(K)

9шт.

42

T152075

Label

(LOCATE ON BACK OF SIDE SHIELD)

1шт.

43

Bracket

(K)

1шт.

44

4281216

Elbow Fitting

(SUB FOR AT173778)

1шт.

9149318

Process Pump

INCLUDES ALL (K) PARTS (SUB FOR AT176688)

1шт.

Выбрано товаров: 42