Запчасти John Deere 92ELC 277 - Control Valve 3360 HYDRAULIC SYSTEM

Схема запчастей John Deere 92ELC - 277 - Control Valve 3360 HYDRAULIC SYSTEM
FIT
1:1
100%

Артикул

Название

Примечание

Количество

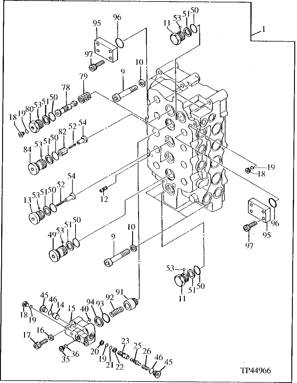
1

4355305

Hyd Actuated Control Valve

(NOT ILLUSTRATED) (CONTAINS ALL ITE MS ON THIS PAGE, ADDITIONAL COMPONEN TS LISTED ON PREVIOUS PAGES) (SUB FO R AT201790, AT186752 AND 4355305EX)

1шт.

9

19M8564

Screw

M16 X 110

7шт.

10

0622802

Washer

(SUB FOR AT201986)

7шт.

11

0622870

Cap

(SUB FOR AT202054)

2шт.

12

0622874

Orifice

(SUB FOR AT202058)

1шт.

13

0622861

Cap

(SUB FOR AT202045)

2шт.

14

0622867

Piston

(SUB FOR AT202051)

1шт.

15

0622862

Cover

(SUB FOR AT202046)

1шт.

16

0622865

Washer

(SUB FOR AT202049)

4шт.

17

M341440

Screw

(SUB FOR AT201961)

4шт.

18

0622810

Cap

(SUB FOR AT201994)

3шт.

19

M800650

Packing

4шт.

20

4092265

Back-Up Ring

(SUB FOR TH102598)

1шт.

21

4140470

O-Ring

12.300 X 2.400 mm (SUB FOR TH109089)

1шт.

22

4040813

Back-Up Ring

(SUB FOR TH110449)

1шт.

23

0622866

Sleeve

(SUB FOR AT202050)

1шт.

25

0622864

Poppet

(SUB FOR AT202048)

1шт.

26

0622863

Spring

(SUB FOR AT202047)

1шт.

35

0622819

Cap

(SUB FOR AT202003)

1шт.

36

CH11570

O-Ring

1шт.

40

CH17167

O-Ring

9.800 X 1.900 mm

1шт.

45

0622822

Cap

(SUB FOR AT202006)

2шт.

46

4506418

O-Ring

17.800 X 2.400 mm (SUB FOR U46489)

2шт.

49

0622825

Cap

(SUB FOR AT202009)

1шт.

50

4088425

O-Ring

(SUB FOR AT202080)

7шт.

51

0223104

Back-Up Ring

(SUB FOR AT202010)

7шт.

52

0622827

Spring

(SUB FOR AT202011)

3шт.

53

0622828

Plug

(SUB FOR AT202012)

7шт.

54

0622829

Check Valve

(SUB FOR AT202013)

3шт.

78

0622844

Spool

(SUB FOR AT202028)

1шт.

79

0622845

Spring

(SUB FOR AT202029)

1шт.

80

0622846

Cap

(SUB FOR AT202030)

1шт.

82

0622848

Check Valve

(SUB FOR AT202032)

1шт.

84

0622850

Cap

(SUB FOR AT202034)

1шт.

91

0622855

Poppet

(SUB FOR AT202039)

1шт.

92

0622856

Spring

(SUB FOR AT202040)

1шт.

93

AT264324

O-Ring

(SUB FOR TH100044)

1шт.

94

0622857

Back-Up Ring

(SUB FOR AT202041)

1шт.

95

0622858

Flange

(SUB FOR AT202042)

2шт.

96

T72216

O-Ring

37.694 X 3.531 mm (SUB FOR AT202043)

2шт.

97

19M8734

Screw

M14 X 45

8шт.

Выбрано товаров: 41