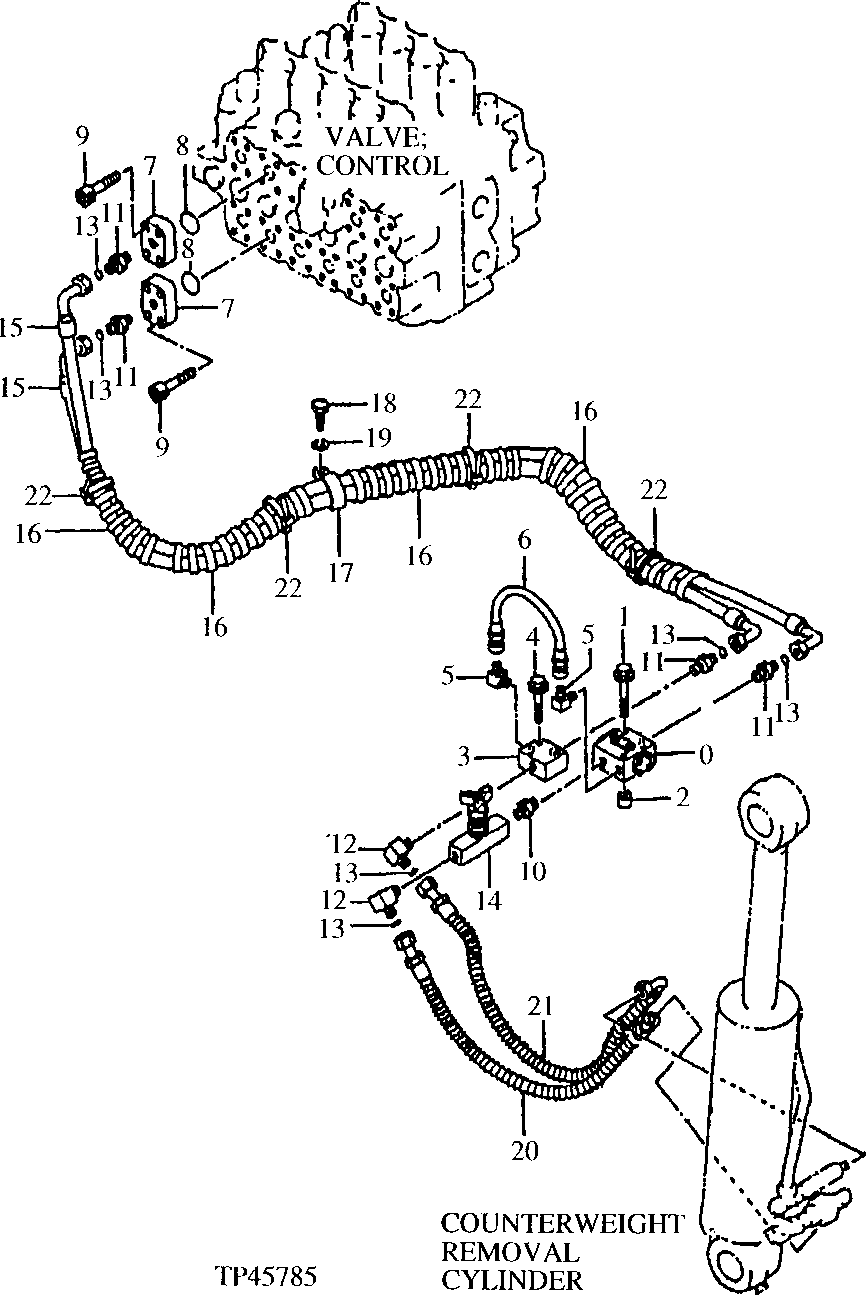
Запчасти John Deere 92ELC 280 - COUNTERWEIGHT REMOVAL HIGH PRESSURE PIPINGS 3360 HYDRAULIC SYSTEM

Схема запчастей John Deere 92ELC - 280 - COUNTERWEIGHT REMOVAL HIGH PRESSURE PIPINGS 3360 HYDRAULIC SYSTEM
FIT
1:1
100%

Артикул

Название

Примечание

Количество

0

4240863

Flow Control Hyd. Valve

(SUB FOR AT132548)

1шт.

1

19M7875

Cap Screw

2шт.

12M7066

Lock Washer

2шт.

2

4131346

Spacer

(SUB FOR AT132491)

2шт.

3

4240862

Manifold

(SUB FOR AT132547)

1шт.

4

19M8655

Cap Screw

2шт.

12M7066

Lock Washer

2шт.

5

4154656

Elbow Fitting

(SUB FOR TH101588)

2шт.

6

AT126482

Hydraulic Hose

1шт.

7

4240861

Flange

(SUB FOR AT132546)

2шт.

8

T72216

O-Ring

2шт.

9

19M8734

Screw

8шт.

10

94-1703

Adapter Fitting

(SUB FOR TH101976)

1шт.

11

4210942

Adapter Fitting

(SUB FOR AT131868)

4шт.

12

4274178

Elbow Fitting

(SUB FOR AT170146)

2шт.

13

T77857

O-Ring

6шт.

14

4220806

Flow Control Hyd. Valve

(SUB FOR AT128495)

1шт.

15

4331745

Hydraulic Hose

(SUB FOR AT170149)

2шт.

16

Hose Guard

(MAKE FROM XHG-075, BULK MATERIAL, CUT TO LENGTH) (SUB FOR AT138222)

4шт.

17

R50454

Clamp

(SUB FOR TH109445 OR 4192034)

1шт.

18

19M8324

Cap Screw

1шт.

19

12M7066

Lock Washer

1шт.

20

4343812

Hydraulic Hose

(SUB FOR AT170150)

1шт.

21

4343813

Hydraulic Hose

(SUB FOR AT170151)

1шт.

22

H77698

Tie Band

4шт.

30

Counterweight

( AT169021 NO LONGER AVAILABLE, SUB AT1964 81) WHOLEGOODS (REMOVAL SYSTEM) (NOT ILLUS TRATED) (CONTAINS ALL ITEMS ON THIS PAGE - ADDITIONAL COMPONENTS LISTED ON OTHER PAGES )

1шт.

Выбрано товаров: 26