Запчасти John Deere 92ELC 289 - Bucket Cylinder 3360 HYDRAULIC SYSTEM

Схема запчастей John Deere 92ELC - 289 - Bucket Cylinder 3360 HYDRAULIC SYSTEM
FIT
1:1
100%

Артикул

Название

Примечание

Количество

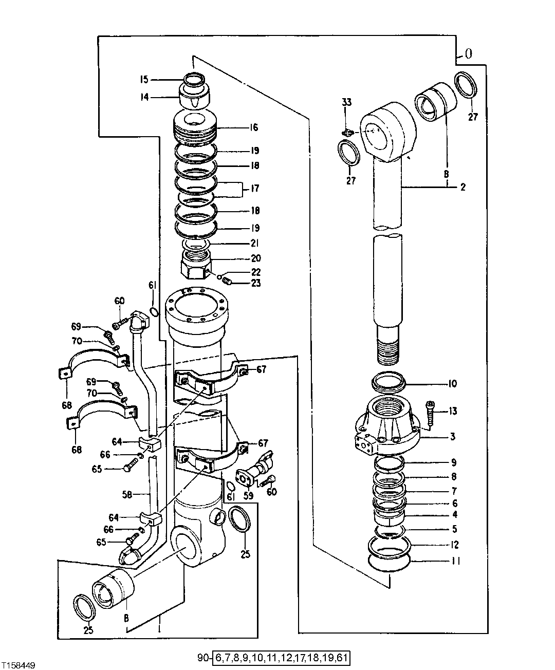
0

Cylinder

AT201824 NLA SUB AT182462

1шт.

AT182462

Cylinder

Remanufactured

1шт.

1

0420401

Tube

SUB FOR AT201587

1шт.

1B

4609091

Bushing

SUB FOR AT132309 OR 0352905

1шт.

2

0420402

Hydraulic Cylinder Rod

SUB FOR AT201588

1шт.

2B

4660855

Bushing

SUB FOR AT202246 OR 0420102

1шт.

3

0420105

Cylinder Head

SUB FOR AT201573

1шт.

4

0352704

Bushing

SUB FOR AT132283

1шт.

5

0133103

Snap Ring

SUB FOR AT127275

1шт.

6

AT132284

Ring

1шт.

7

AT132285

Seal

1шт.

8

AT132286

Back-Up Ring

1шт.

9

AT204911

Ring

2шт.

10

AT191197

Ring

SUB FOR AT132288

1шт.

11

AT264240

O-Ring

SUB FOR AT132154

1шт.

12

AT264252

Back-Up Ring

SUB FOR AT132399

1шт.

13

0191412

Bolt

SUB FOR AT132295 OR AT217053

8шт.

14

0420106

Bearing

SUB FOR AT201574

1шт.

15

0420113

Seal

1шт.

16

0420108

Piston

SUB FOR AT201576

1шт.

17

AT264253

Ring

SUB FOR AT132400

1шт.

18

AT264289

Ring

SUB FOR AT201577

1шт.

19

AT264248

Ring

SUB FOR AT132175

2шт.

20

0352713

Nut

SUB FOR AT132292

1шт.

21

0352714

Shim

SUB FOR AT132293

1шт.

22

R26552

Ball

7.938 mm

1шт.

23

H228111

Set Screw

SUB FOR AT132294 OR 0352715

1шт.

25

0420403

Ring

SUB FOR AT201589 OR 4S00854

2шт.

27

AT201578

Ring

2шт.

33

TH100074

Lubrication Fitting

1шт.

58

4S00349

Line

SUB FOR AT201590

1шт.

59

4S00350

Line

SUB FOR AT201591

1шт.

60

19M8395

Screw

M12 X 40

8шт.

61

AT264348

O-Ring

SUB FOR TH102788

2шт.

64

0309219J

Half Clamp

SUB FOR 0309219 OR T108064

2шт.

65

19M7363

Cap Screw

M12 X 60

2шт.

66

TH102779

Lock Washer

2шт.

67

Band

0352719 NLA SUB FOR AT132298

2шт.

0875612

Half Clamp

2шт.

68

0352721

Band

SUB FOR AT132300

2шт.

69

19M7550

Cap Screw

M10 X 35 SUB FOR AT153924

4шт.

70

12M7066

Lock Washer

10 mm

4шт.

90

AT196471

Seal Kit

SUB FOR AT182708, 4340620 OR AT191198

1шт.

Выбрано товаров: 43