Запчасти John Deere 92ELC 299 - AUXILIARY HYDRAULIC LINES 3360 HYDRAULIC SYSTEM

Схема запчастей John Deere 92ELC - 299 - AUXILIARY HYDRAULIC LINES 3360 HYDRAULIC SYSTEM
FIT
1:1
100%

Артикул

Название

Примечание

Количество

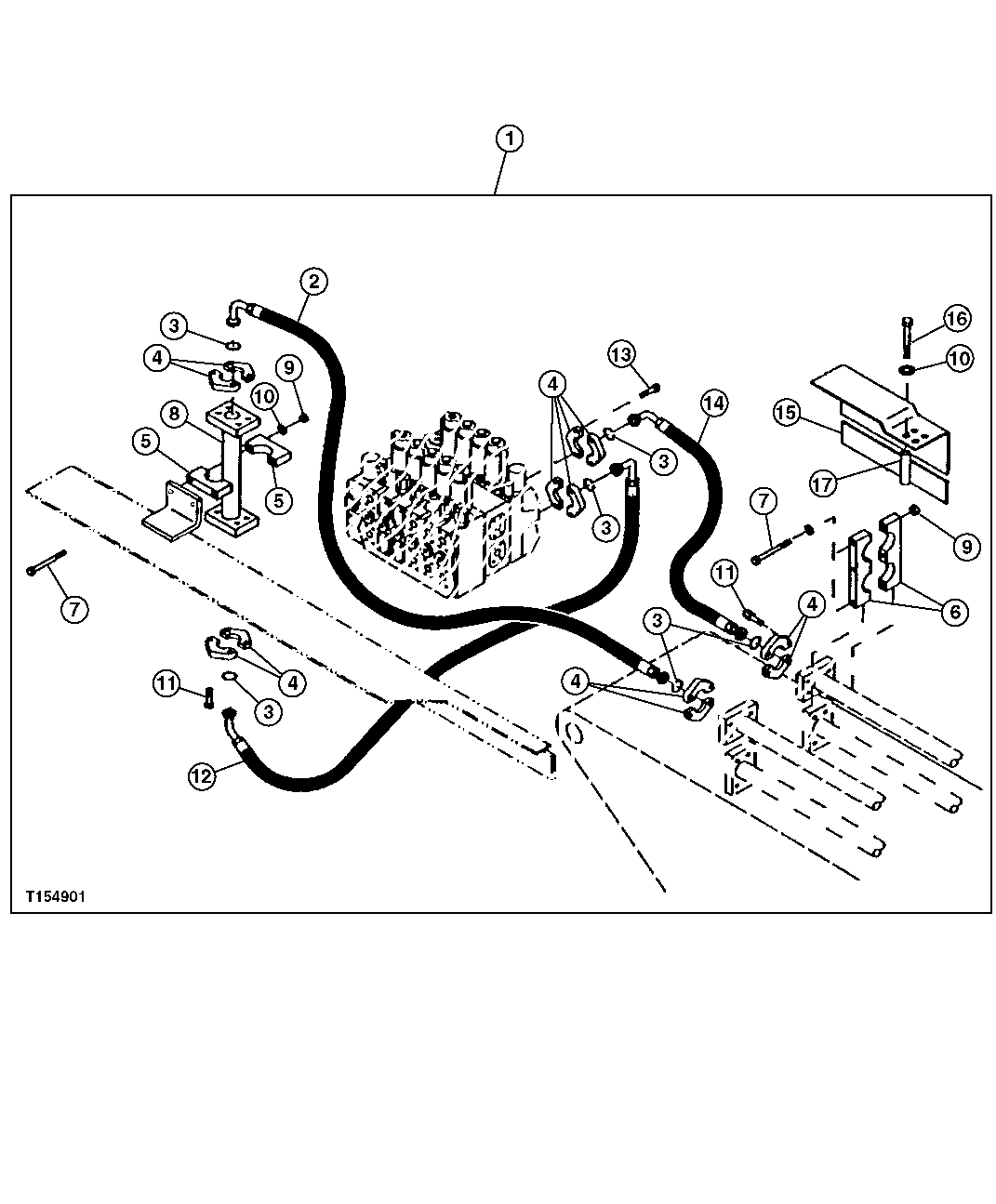
1

Field Installation Kit

(WHOLE GOODS) ( AT195681 NLA) (SUB FOR AT169919 (AUXILIARY ASSEMBLY) (CONTAINS ALL ITEMS LISTED ON THIS PAGE - ADDITION AL COMPONENTS LISTED ON FOLLOWING PAGE))

1шт.

2

AT169988

Hydraulic Hose

(BOOM, RH)

1шт.

3

T72216

O-Ring

6шт.

4

AT131685

Flange Fitting

12шт.

5

AT201796

Clamp

2шт.

6

T155058

Clamp

TUBE ( T153801 NO LONGER AVAILABLE)

4шт.

7

19M7818

Screw

8шт.

8

AT172487

Flange Fitting

1шт.

9

14M7299

Flange Nut

8шт.

10

24M7240

Washer

4шт.

11

19M7393

Cap Screw

(SUB FOR 19M6579)

12шт.

12

AT172373

Hydraulic Hose

(LOWER CONTROL VALVE)

1шт.

13

T114269

Cap Screw

8шт.

14

AT169989

Hydraulic Hose

(BOOM, LH)

1шт.

15

T155063

Shield

1шт.

16

19M8037

Cap Screw

2шт.

17

28H2695

Bushing

2шт.

Выбрано товаров: 17