Качественные детали и логистика
Оригинальные и аналоговые запчасти с доставкой по России, Казахстану и Беларуси
©2022 PartSell ООО "Система" ИНН 2463123282 ОГРН 1212400004838
Центральный офис: г. Красноярск, Академика Киренского, д.87, пом.4
Телефон: 8 (800) 777-65-74 Email: zakaz@partsell.ru
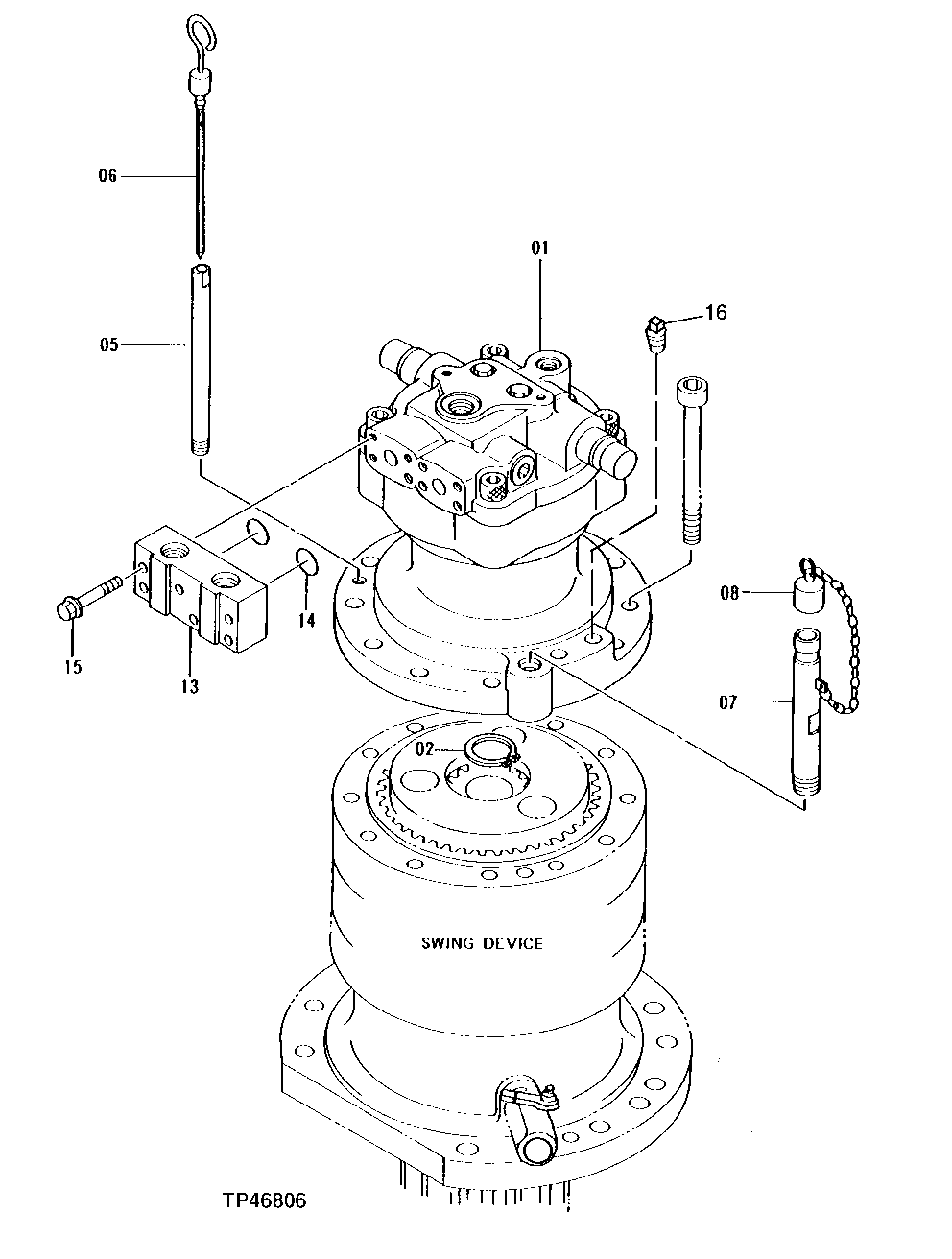
313 - RIGHT SWING DRIVE
№
Артикул
Название
Примечание
Количество
1
4334276EX
Hydraulic Motor Reman
(SUB FOR AT201794 ) (SUB FO R AT217357)(REMANUFACTURED)
1шт.
2
40M7047
Snap Ring
5
4340011
Line
(SUB FOR AT201820)
6
3074225
Level Gauge
(SUB FOR TH111703 ) (SUB FOR AT176181)
(SUB FOR AT176181)
7
4388529
Tube
8
4343365
Cap
13
3073023
Junction Block
(SUB FOR AT130872 ) (SUB FOR AT171651)
14
T59014
O-Ring
24.994 X 3.531 mm
2шт.
15
19M8499
Cap Screw
M10 X 60
6шт.
12M7066
Lock Washer
10 mm
16
M800462
Plug
Выбрано товаров: 0