Запчасти John Deere 92ELC 60 - Water Pump 0417 Water Pump 6101AT010 6101AT010

Схема запчастей John Deere 92ELC - 60 - Water Pump 0417 Water Pump 6101AT010 6101AT010
FIT
1:1
100%

Артикул

Название

Примечание

Количество

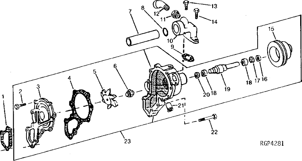
1

R520542

Gasket

(SUB FOR R49495)

1шт.

2

19H2127

Cap Screw

5/16" X 7/8"

6шт.

3

R67351

Cover

1шт.

4

R99785

Gasket

1шт.

5

R84180

Impeller

1шт.

6

RE68318

Seal Kit

(SUB FOR RE20776)

1шт.

7

R67358

Tube

1шт.

8

T19687

O-Ring

1шт.

9

R67357

Gasket

1шт.

10

R98247

Elbow Fitting

1шт.

11

15H619

Pipe Bushing

3/8"

1шт.

12

15H221

Elbow Fitting

3/8"

1шт.

13

19H2661

Cap Screw

5/16" X 1-3/8"

1шт.

14

19H2127

Cap Screw

5/16" X 7/8"

1шт.

15

R110445

Pulley

1шт.

16

RE20768

Seal

1шт.

17

F2367R

Snap Ring

1 57 MM ( 062")

ARшт.

R62191

Snap Ring

1 70 MM ( 067") (RED)

ARшт.

R62192

Snap Ring

1 96 MM ( 077") (GREEN)

ARшт.

R62193

Snap Ring

2 20 MM ( 087") (BLUE)

ARшт.

R62194

Snap Ring

2 46 MM ( 097") (WHITE)

ARшт.

18

JD10329

Ball Bearing

2шт.

19

R82051

Shaft

1 57 MM ( 062")

1шт.

20

RE20767

Seal

1шт.

21

R57503

Tube

1шт.

22

19H3708

Cap Screw

3/8" X 2-5/8"

2шт.

23

RE46224

Water Pump

(MARKED R108908) (SUB SE500906)

1шт.

RE60371

Water Pump

(MARKED R124060) (SUB SE500906)

1шт.

SE500906

Water Pump Reman

(REMAN FOR RE60371)

1шт.

R98527

Filter

(WEEP HOLE)

1шт.

Выбрано товаров: 0