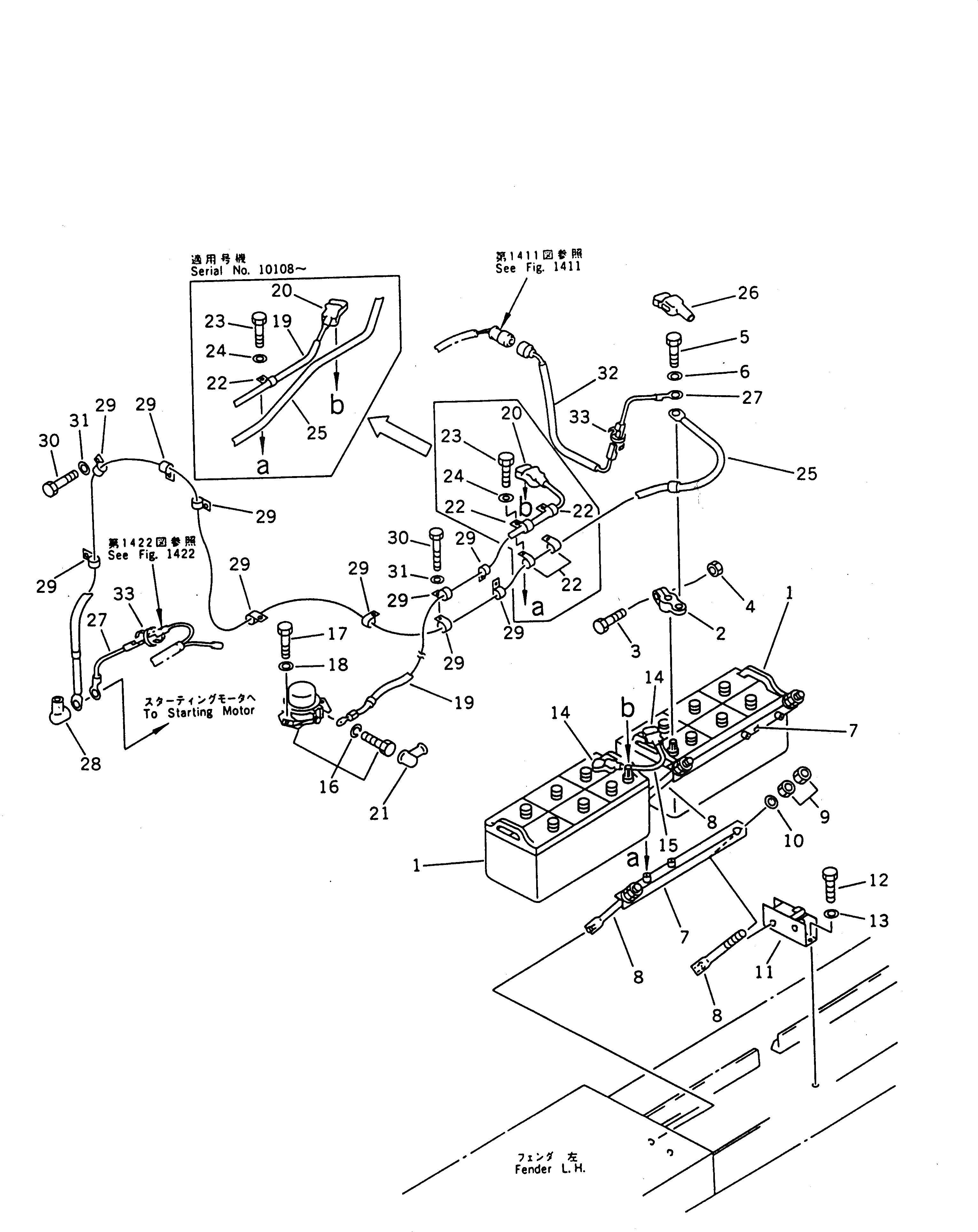
Запчасти Komatsu D135A-1 АККУМУЛЯТОР И РЕЛЕ КОМПОНЕНТЫ ДВИГАТЕЛЯ И ЭЛЕКТРИКА

Схема запчастей Komatsu D135A-1 - АККУМУЛЯТОР И РЕЛЕ КОМПОНЕНТЫ ДВИГАТЕЛЯ И ЭЛЕКТРИКА
FIT
1:1
100%

Артикул

Название

Примечание

Количество

1

08000-42220

BATTERY (165G51)

SN: 10001-UP

2шт.

1

08000-12221

BATTERY (C200),(C200 OR F300-20)

SN: 10001-UP

2шт.

2

08000-00000

TERMINAL, (+)

SN: 10001-UP

2шт.

2

08000-00001

TERMINAL, (-)

SN: 10001-UP

2шт.

3

01010-30830

BOLT

SN: 10001-UP

1шт.

4

01580-00806

NUT

SN: 10001-UP

1шт.

5

01050-31018

BOLT

SN: 10001-UP

1шт.

6

01640-01016

WASHER

SN: 10001-UP

1шт.

7

08005-52056

HOLDER

SN: 10001-UP

2шт.

8

08006-40255

ROD

SN: 10001-UP

4шт.

9

01580-11008

NUT

SN: 10001-UP

8шт.

10

01640-21016

WASHER

SN: 10001-UP

4шт.

11

15A-06-11140

BRACKET

SN: 10001-UP

1шт.

12

01010-51225

BOLT

SN: 10001-UP

2шт.

13

01643-31232

WASHER

SN: 10001-UP

2шт.

14

08038-22511

CAP

SN: 10001-UP

2шт.

15

08028-15011

WIRE, 110MM

SN: 10001-UP

1шт.

16

08088-10000

SWITCH,BATTERY RELAY

SN: 10001-UP

1шт.

17

01010-50820

BOLT

SN: 10001-UP

2шт.

18

01643-30823

WASHER

SN: 10001-UP

2шт.

19

15A-06-11130

WIRING HARNESS

SN: 10001-UP

1шт.

20

08038-22511

CAP

SN: 10001-UP

1шт.

21

08038-00035

CAP

SN: 10001-UP

1шт.

22

08035-03010

CLIP

SN: 10108-UP

1шт.

22

08035-03010

CLIP

SN: 10001-10107

4шт.

23

01010-51016

BOLT

SN: 10108-UP

1шт.

23

01010-51016

BOLT

SN: 10001-10107

2шт.

24

01643-31032

WASHER

SN: 10108-UP

1шт.

24

01643-31032

WASHER

SN: 10001-10107

2шт.

25

15A-06-11170

WIRING HARNESS

SN: 10001-UP

1шт.

26

198-06-12760

COVER

SN: 10001-UP

1шт.

27

195-06-25290

CONNECTOR

SN: 10001-UP

2шт.

28

154-06-13130

CAP

SN: 10001-UP

1шт.

29

08035-03014

CLIP

SN: 10001-UP

10шт.

30

01010-51220

BOLT

SN: 10001-UP

8шт.

31

01643-31232

WASHER

SN: 10001-UP

8шт.

32

154-06-41410

WIRING HARNESS

SN: 10001-UP

1шт.

33

175-895-4251

TAPE

SN: 10001-UP

2шт.

Выбрано товаров: 38