Запчасти Komatsu D135A-1 ГИДРОЛИНИЯ (БАК - ГИДРОЦИЛИНДР ПОДЪЕМА) (/) УПРАВЛ-Е РАБОЧИМ ОБОРУДОВАНИЕМ

Схема запчастей Komatsu D135A-1 - ГИДРОЛИНИЯ (БАК - ГИДРОЦИЛИНДР ПОДЪЕМА) (/) УПРАВЛ-Е РАБОЧИМ ОБОРУДОВАНИЕМ
FIT
1:1
100%

Артикул

Название

Примечание

Количество

G-1

0

PIPING GROUP,(FOR BLADE LIFT)

SN: 10108-UP

1шт.

G-1

0

PIPING GROUP,(FOR BLADE LIFT)

SN: 10001-10107

1шт.

|$$3

====================

-1шт.

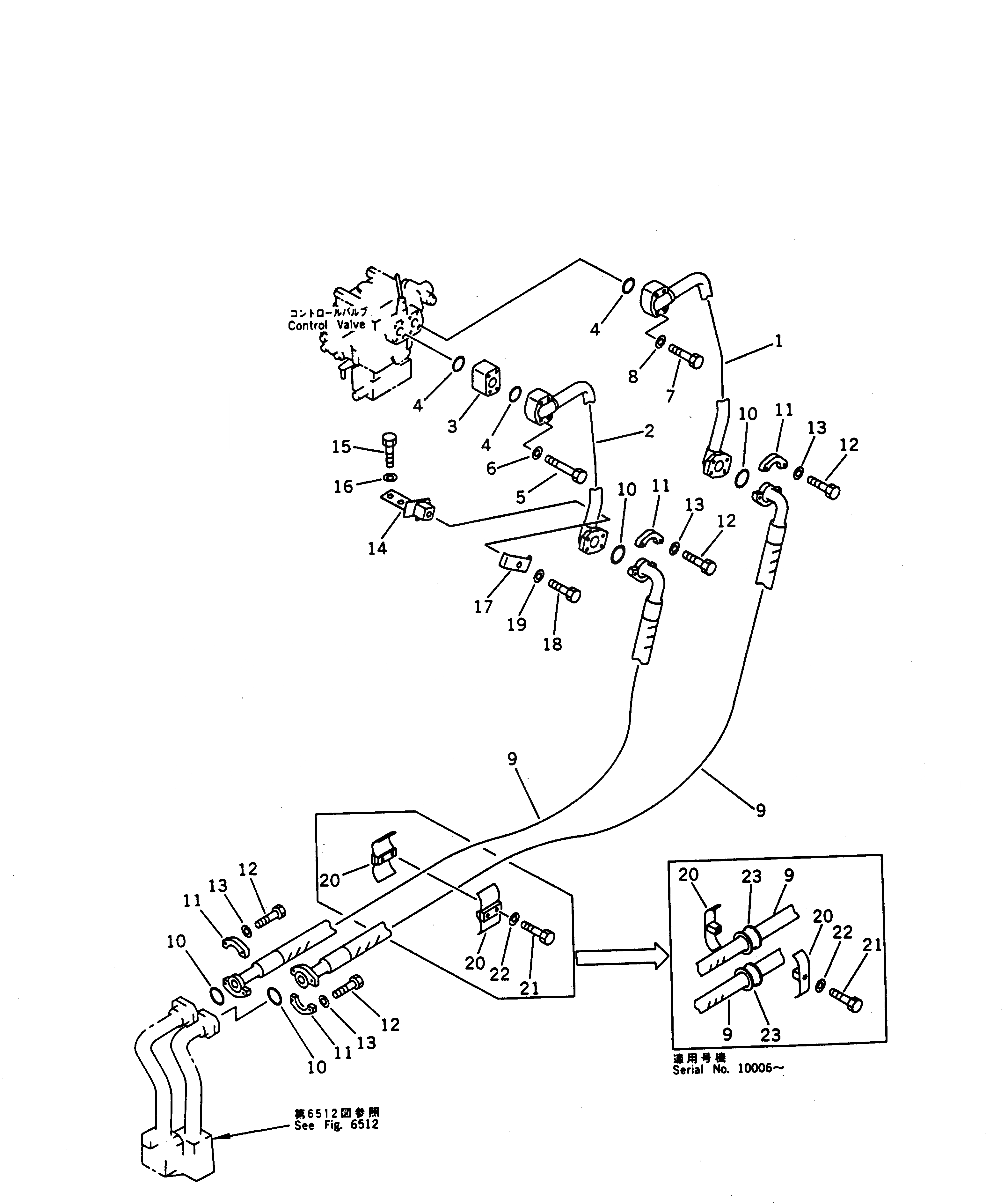
1

15A-61-12110

TUBE

SN: 10001-UP

1шт.

2

15A-61-12120

TUBE

SN: 10001-UP

1шт.

3

154-61-73140

SPACER

SN: 10001-UP

1шт.

4

07000-13035

O-RING

SN: 10001-UP

3шт.

5

01011-51005

BOLT

SN: 10001-UP

4шт.

6

01643-31032

WASHER

SN: 10001-UP

4шт.

7

01010-51060

BOLT

SN: 10001-UP

4шт.

8

01643-31032

WASHER

SN: 10001-UP

4шт.

9

07124-01218

HOSE

SN: 10001-UP

2шт.

10

07000-13038

O-RING

SN: 10001-UP

4шт.

11

07371-31255

FLANGE,SPRIT

SN: 10001-UP

8шт.

12

07372-21240

BOLT

SN: 10001-UP

16шт.

13

01643-51232

WASHER

SN: 10001-UP

16шт.

14

15A-61-12220

BRACKET

SN: 10001-UP

1шт.

15

01010-51225

BOLT

SN: 10001-UP

2шт.

16

01643-31232

WASHER

SN: 10001-UP

2шт.

17

20X-62-12620

CLAMP

SN: 10001-UP

1шт.

18

01010-51230

BOLT

SN: 10001-UP

1шт.

19

01643-31232

WASHER

SN: 10001-UP

1шт.

20

15A-61-12240

CLAMP

SN: 10006-UP

2шт.

20

175-61-14690

CLAMP

SN: 10001-10005

2шт.

21

01010-51285

BOLT

SN: 10006-UP

1шт.

21

01010-51285

BOLT

SN: 10001-10005

2шт.

22

01643-31232

WASHER

SN: 10006-UP

1шт.

22

01643-31232

WASHER

SN: 10001-10005

2шт.

23

15A-61-12250

CUSHION

SN: 10001-UP

2шт.

|$$30

====================

-1шт.

Выбрано товаров: 30