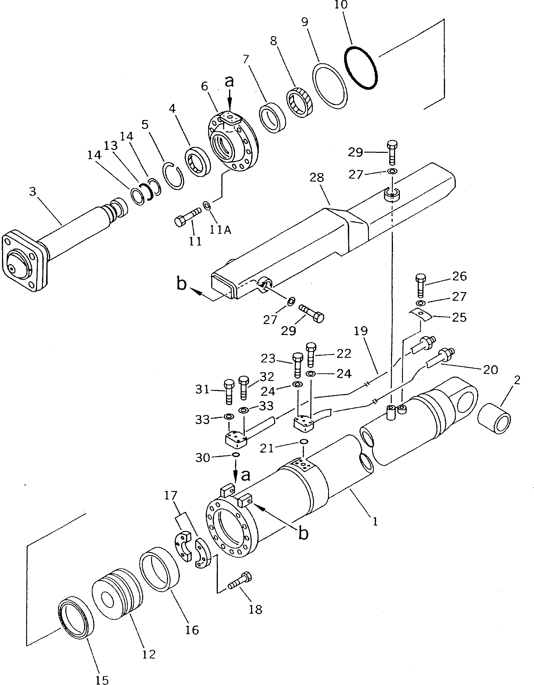
Запчасти Komatsu D135A-1 ЦИЛИНДР ПЕРЕКОСА ОТВАЛА РАБОЧЕЕ ОБОРУДОВАНИЕ

Схема запчастей Komatsu D135A-1 - ЦИЛИНДР ПЕРЕКОСА ОТВАЛА РАБОЧЕЕ ОБОРУДОВАНИЕ
FIT
1:1
100%

Артикул

Название

Примечание

Количество

G-1

0

CYLINDER GROUP,BLADE TILT

SN: .-UP

1шт.

G-1

0

CYLINDER GROUP,BLADE TILT

SN: 10001-.

1шт.

|$$3

====================

-1шт.

|$3

15A-63-02130

CYLINDER ASS'Y,BLADE TILT

SN: .-UP

1шт.

|$4

0

CYLINDER ASS'Y,BLADE TILT

SN: 10001-.

1шт.

1

15A-63-52340

CYLINDER

SN: .-UP

1шт.

1

0

CYLINDER

SN: 10001-.

1шт.

2

195-63-52160

BUSHING

SN: 10001-UP

1шт.

3

15A-63-52120

ROD,PISTON

SN: 10001-UP

1шт.

4

195-63-94170

SEAL,DUST (K7)

SN: .-UP

1шт.

4

0

SEAL,DUST

SN: 10001-.

1шт.

5

07179-13104

RING,SNAP

SN: 10001-UP

1шт.

6

707-27-18740

HEAD,CYLINDER

SN: .-UP

1шт.

6

0

HEAD,CYLINDER

SN: 10001-.

1шт.

7

707-52-10910

BUSHING

SN: 10001-UP

1шт.

8

707-51-90211

PACKING,ROD (K7)

SN: 10001-UP

1шт.

9

07146-05172

RING,BACK-UP (K7)

SN: 10001-UP

1шт.

10

07000-15170

O-RING (K7)

SN: 10001-UP

1шт.

11

01010-81865

BOLT

SN: .-UP

12шт.

11

01010-81850

BOLT

SN: 10001-.

12шт.

11A

01643-31845

WASHER

SN: .-UP

12шт.

12

707-36-18400

PISTON

SN: 10001-UP

1шт.

13

07000-12070

O-RING (K7)

SN: 10001-UP

1шт.

14

707-35-52910

RING,BACK-UP (K7)

SN: 10001-UP

2шт.

15

707-44-18180

RING,PISTON (K7)

SN: .-UP

1шт.

15

0

RING,PISTON

SN: 10001-.

1шт.

16

07156-01822

RING,WEAR

SN: 10001-UP

1шт.

17

707-40-18070

SPACER

SN: 10001-UP

2шт.

18

01010-31240

BOLT

SN: 10001-UP

6шт.

19

15A-71-12150

TUBE

SN: 10001-UP

1шт.

20

15A-71-12160

TUBE

SN: 10001-UP

1шт.

21

07000-13030

O-RING

SN: 10001-UP

1шт.

22

01010-50855

BOLT

SN: 10001-UP

2шт.

23

01010-50840

BOLT

SN: 10001-UP

2шт.

24

01643-30823

WASHER

SN: 10001-UP

4шт.

25

195-63-52871

CLIP

SN: 10001-UP

1шт.

26

01010-51420

BOLT

SN: 10001-UP

1шт.

27

01643-31445

WASHER

SN: 10001-UP

4шт.

28

15A-63-52390

COVER

SN: .-UP

1шт.

28

15A-71-12110

COVER

SN: 10001-.

1шт.

29

01010-51435

BOLT

SN: 10001-UP

3шт.

30

07000-13025

O-RING

SN: 10001-UP

1шт.

31

01010-50835

BOLT

SN: 10001-UP

2шт.

32

01010-50845

BOLT

SN: 10001-UP

2шт.

33

01643-30823

WASHER

SN: 10001-UP

4шт.

|$$46

====================

-1шт.

Выбрано товаров: 46