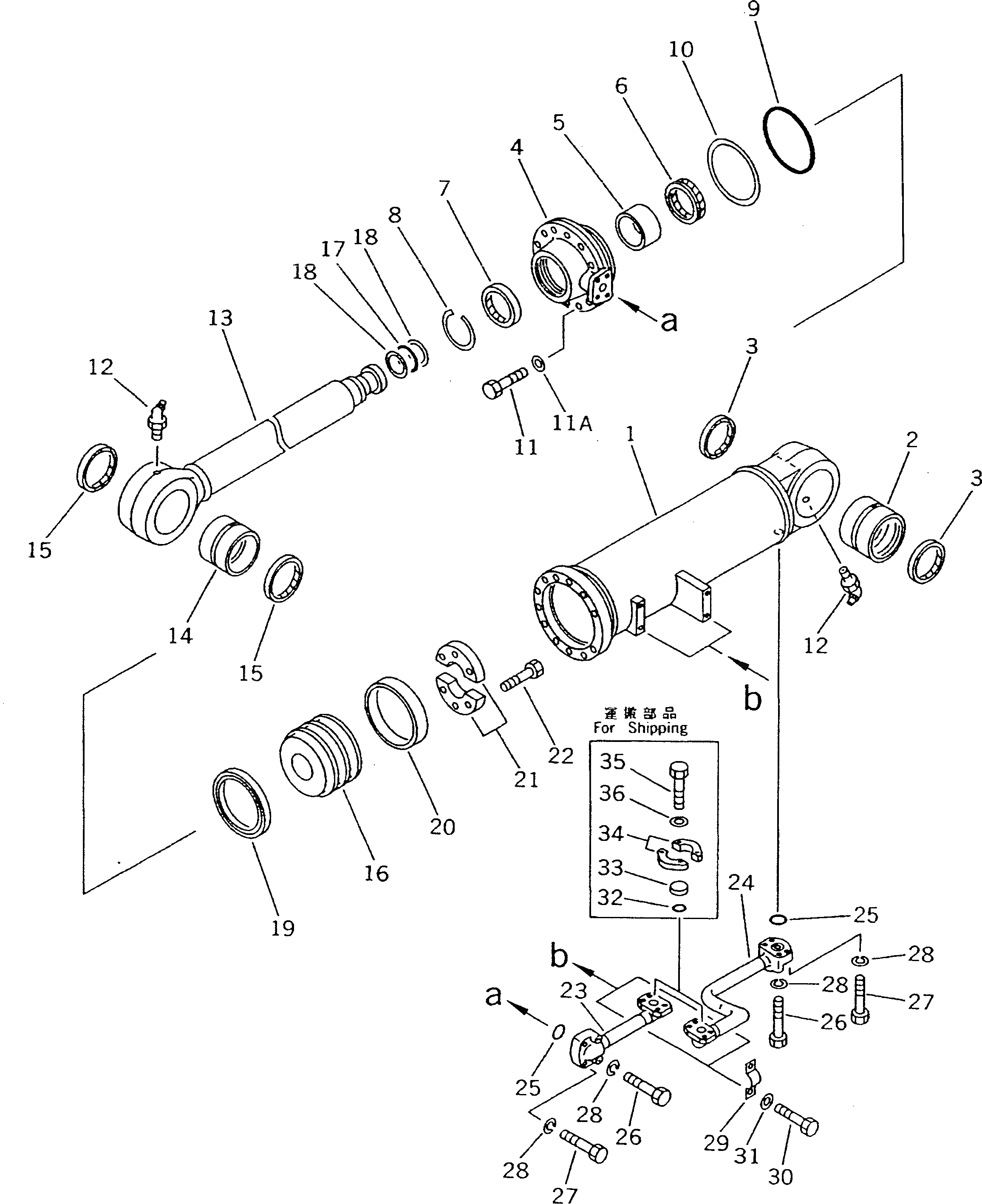
Запчасти Komatsu D135A-1 РЫХЛИТЕЛЬ ГИДРОЦИЛИНДР ПОДЪЕМА РАБОЧЕЕ ОБОРУДОВАНИЕ

Схема запчастей Komatsu D135A-1 - РЫХЛИТЕЛЬ ГИДРОЦИЛИНДР ПОДЪЕМА РАБОЧЕЕ ОБОРУДОВАНИЕ
FIT
1:1
100%

Артикул

Название

Примечание

Количество

G-1

0

CYLINDER GROUP,RIPPER LIFT, L.H.

SN: .-UP

1шт.

G-1

0

CYLINDER GROUP,RIPPER LIFT, L.H.

SN: 10001-.

1шт.

G-1

0

CYLINDER GROUP,RIPPER LIFT, R.H.

SN: .-UP

1шт.

G-1

0

CYLINDER GROUP,RIPPER LIFT, R.H.

SN: 10001-UP

1шт.

|$$5

====================

-1шт.

|$5

15A-63-02140

CYLINDER ASS'Y,L.H.

SN: .-UP

1шт.

|$6

0

CYLINDER ASS'Y,L.H.

SN: 10001-.

1шт.

|$7

15A-63-02150

CYLINDER ASS'Y,R.H.

SN: .-UP

1шт.

|$8

0

CYLINDER ASS'Y,R.H.

SN: 10001-.

-1шт.

1

15A-63-42340

CYLINDER,L.H.

SN: .-UP

1шт.

1

0

CYLINDER,L.H.

SN: 10001-.

1шт.

1

15A-63-42440

CYLINDER,R.H.

SN: .-UP

1шт.

1

0

CYLINDER,R.H.

SN: 10001-.

1шт.

2

707-76-85140

BUSHING

SN: 10001-UP

1шт.

3

07145-00085

SEAL,DUST

SN: 10001-UP

2шт.

4

707-27-16820

HEAD,CYLINDER

SN: .-UP

1шт.

4

0

HEAD,CYLINDER

SN: 10001-.

1шт.

5

07177-08040

BUSHING

SN: 10001-UP

1шт.

6

707-51-80211

PACKING,ROD (K8)

SN: 10001-UP

1шт.

7

195-63-92190

SEAL,DUST (K8)

SN: .-UP

1шт.

7

0

SEAL,DUST

SN: 10001-.

1шт.

8

07179-13094

RING,SNAP

SN: 10001-UP

1шт.

9

07000-15150

O-RING (K8)

SN: 10001-UP

1шт.

10

07146-05152

RING,BACK-UP (K8)

SN: 10001-UP

1шт.

11

01010-81660

BOLT

SN: .-UP

12шт.

11

01010-81645

BOLT

SN: 10001-.

12шт.

11A

01643-51645

WASHER

SN: .-UP

12шт.

12

07020-00675

FITTING,GREASE

SN: 10001-UP

2шт.

13

15A-63-42120

ROD,PISTON

SN: 10001-UP

1шт.

14

07144-10808

BUSHING

SN: 10001-UP

1шт.

15

07145-00085

SEAL,DUST

SN: 10001-UP

2шт.

16

707-36-16400

PISTON

SN: 10001-UP

1шт.

17

07000-12060

O-RING (K8)

SN: 10001-UP

1шт.

18

707-35-52900

RING,BACK-UP (K8)

SN: 10001-UP

2шт.

19

707-44-16180

RING,PISTON (K8)

SN: .-UP

1шт.

19

0

RING,PISTON

SN: 10001-.

1шт.

20

07156-01620

RING,WEAR

SN: 10001-UP

1шт.

21

707-40-16170

SPACER

SN: 10001-UP

2шт.

22

01010-31240

BOLT

SN: 10001-UP

6шт.

23

15A-78-12180

TUBE,L.H.

SN: 10001-UP

1шт.

23

15A-78-12170

TUBE,R.H.

SN: 10001-UP

1шт.

24

15A-78-12160

TUBE,L.H.

SN: 10001-UP

1шт.

24

15A-78-12150

TUBE,R.H.

SN: 10001-UP

1шт.

25

07000-13030

O-RING

SN: 10001-UP

2шт.

26

01010-50855

BOLT

SN: 10001-UP

4шт.

27

01010-50840

BOLT

SN: 10001-UP

4шт.

28

01602-20825

WASHER,SPRING

SN: 10001-UP

8шт.

29

07282-02793

CLAMP

SN: 10001-UP

2шт.

30

01010-51020

BOLT

SN: 10001-UP

4шт.

31

01643-31032

WASHER

SN: 10001-UP

4шт.

32

07000-13025

O-RING,(FOR SHIPPING)

SN: 10001-UP

2шт.

33

07378-10600

HEAD,(FOR SHIPPING)

SN: 10001-UP

2шт.

34

20Y-62-11150

FLANGE,(FOR SHIPPING)

SN: 10001-UP

4шт.

35

07372-21035

BOLT,(FOR SHIPPING)

SN: 10001-UP

8шт.

36

01643-51032

WASHER,(FOR SHIPPING)

SN: 10001-UP

8шт.

|$$56

====================

-1шт.

Выбрано товаров: 0