Запчасти Komatsu D135A-1 ПРОТИВОВЕС РАБОЧЕЕ ОБОРУДОВАНИЕ

Схема запчастей Komatsu D135A-1 - ПРОТИВОВЕС РАБОЧЕЕ ОБОРУДОВАНИЕ
FIT
1:1
100%

Артикул

Название

Примечание

Количество

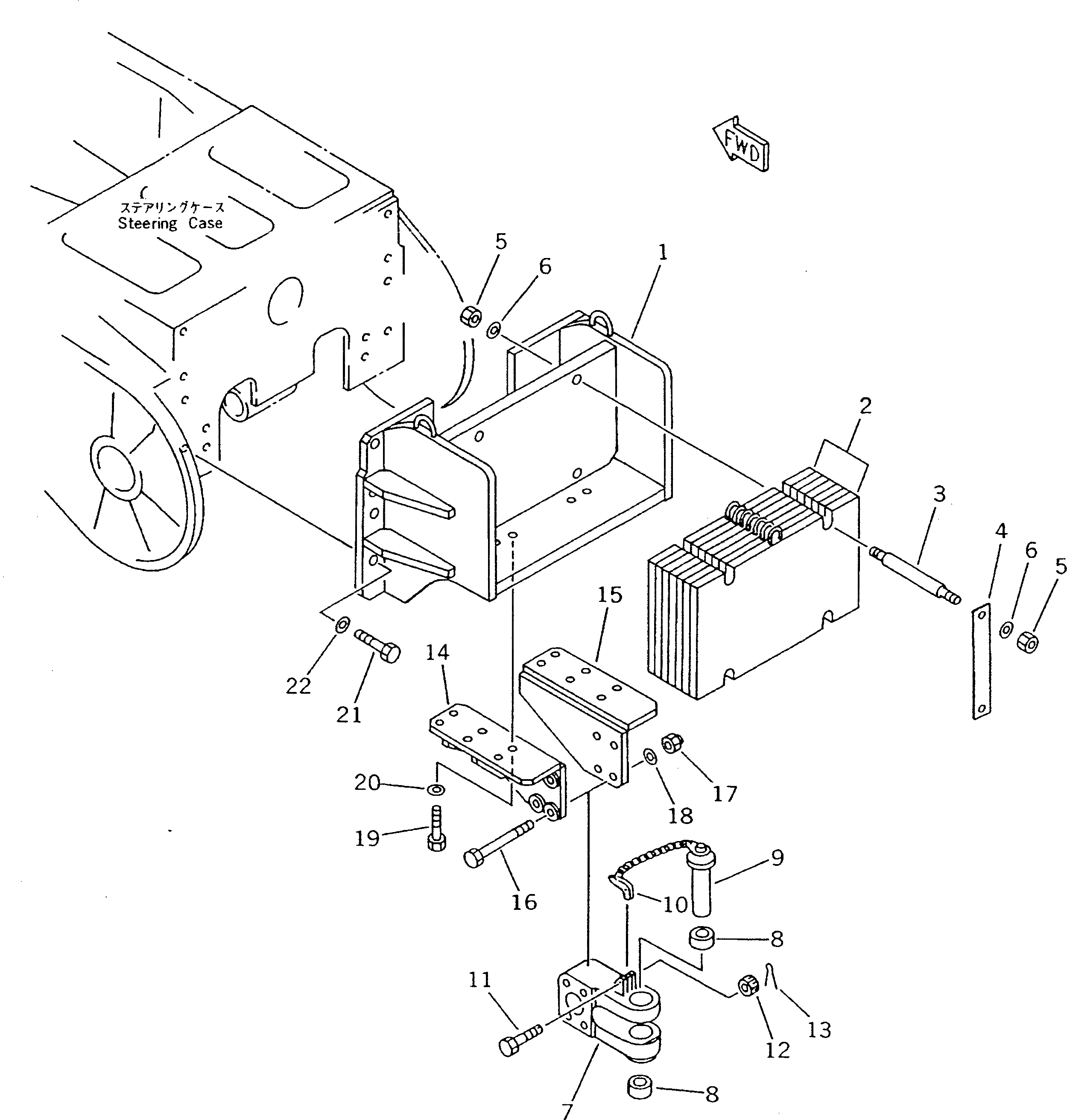
G-1

0

COUNTER WEIGHT G.

SN: 10001-UP

1шт.

|$$2

====================

-1шт.

1

15A-69-21110

BRACKET

SN: 10001-UP

1шт.

2

195-69-12121

WEIGHT,COUNTER

SN: 10001-UP

5шт.

3

15A-69-21120

BOLT

SN: 10001-UP

4шт.

4

198-69-11291

PLATE

SN: 10001-UP

2шт.

5

01580-13024

NUT

SN: 10001-UP

6шт.

6

01643-33080

WASHER

SN: 10001-UP

6шт.

|$8

175-69-00012

DRAWBAR ASS'Y

SN: 10001-UP

1шт.

7

175-69-21212

DRAWBAR

SN: 10001-UP

1шт.

8

195-69-11230

BUSHING

SN: 10001-UP

2шт.

9

195-69-11226

PIN ASS'Y

SN: 10001-UP

1шт.

10

09249-10016

LATCH (WELDED)

SN: 10001-UP

1шт.

11

01052-51675

BOLT

SN: 10001-UP

1шт.

12

01592-11619

NUT

SN: 10001-UP

1шт.

13

04050-14030

PIN,COTTER

SN: 10001-UP

1шт.

14

195-69-12141

BRACKET,L.H.

SN: 10001-UP

1шт.

15

195-69-12151

BRACKET,R.H.

SN: 10001-UP

1шт.

16

170-69-11143

BOLT

SN: 10001-UP

4шт.

17

07165-13336

NUT

SN: 10001-UP

4шт.

18

01643-33380

WASHER

SN: 10001-UP

4шт.

19

01010-83075

BOLT

SN: 10001-UP

12шт.

20

01643-33080

WASHER

SN: 10001-UP

12шт.

21

01018-33380

BOLT

SN: 10001-UP

12шт.

22

01643-33380

WASHER

SN: 10001-UP

12шт.

|$$26

====================

-1шт.

Выбрано товаров: 26