Запчасти Komatsu D135A-1 КЛАПАН ТРАНСМИССИИ (/) ГИДРОТРАНСФОРМАТОР И TRNSMISSION

Схема запчастей Komatsu D135A-1 - КЛАПАН ТРАНСМИССИИ (/) ГИДРОТРАНСФОРМАТОР И TRNSMISSION
FIT
1:1
100%

Артикул

Название

Примечание

Количество

|$0

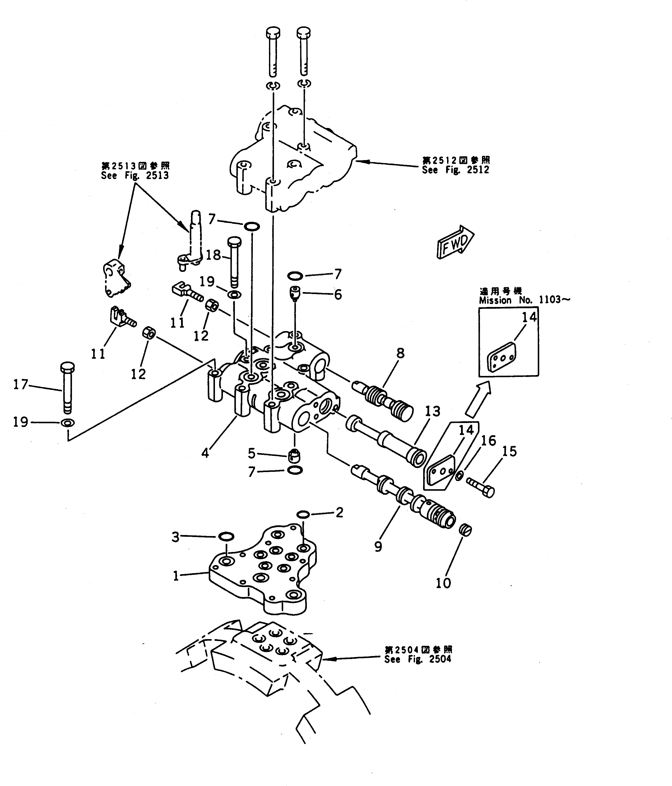
15A-15-00010

TRANSMISSION ASS'Y,TORQFLOW

SN: 10001-UP

1шт.

|$1

15A-15-00501

CONTROL VALVE ASS'Y

SN: (1103)-UP

1шт.

|$2

0

CONTROL VALVE ASS'Y

SN: 10001-(1102)

1шт.

1

175-15-45110

SEAT,VALVE

SN: 10001-UP

1шт.

2

07000-73022

O-RING (K3)

SN: 10001-UP

7шт.

3

07000-73025

O-RING (K3)

SN: 10001-UP

3шт.

4

175-15-45212

BODY

SN: 10001-UP

1шт.

5

175-15-45260

DETENT

SN: 10001-UP

1шт.

6

195-15-15671

DETENT

SN: 10001-UP

1шт.

7

07000-73022

O-RING (K3)

SN: 10001-UP

5шт.

8

175-15-45220

SPOOL

SN: 10001-UP

1шт.

|$11

15A-15-00511

SPOOL ASS'Y

SN: 10001-UP

1шт.

9

0

SPOOL

SN: 10001-UP

1шт.

10

0

PLUG

SN: 10001-UP

1шт.

11

09363-01053

YOKE

SN: 10001-UP

2шт.

12

01580-11008

NUT

SN: 10001-UP

2шт.

13

154-15-45190

SPACER

SN: 10001-UP

1шт.

14

175-15-45810

PLATE

SN: (1103)-UP

1шт.

14

144-15-25810

PLATE

SN: 10001-(1102)

1шт.

15

01010-31025

BOLT

SN: 10001-UP

2шт.

16

01643-31032

WASHER

SN: 10001-UP

2шт.

17

01010-31075

BOLT

SN: 10001-UP

1шт.

18

175-15-45160

BOLT

SN: 10001-UP

1шт.

19

01643-31032

WASHER

SN: 10001-UP

2шт.

Выбрано товаров: 0