Запчасти Komatsu D135A-1 РЫЧАГ УПРАВЛ-Я ТРАНСМИССИЕЙ СИСТЕМА УПРАВЛЕНИЯ

Схема запчастей Komatsu D135A-1 - РЫЧАГ УПРАВЛ-Я ТРАНСМИССИЕЙ СИСТЕМА УПРАВЛЕНИЯ
FIT
1:1
100%

Артикул

Название

Примечание

Количество

G-1

0

CONTROL GROUP,TRANSMISSION

SN: 10001-UP

1шт.

|$$2

====================

-1шт.

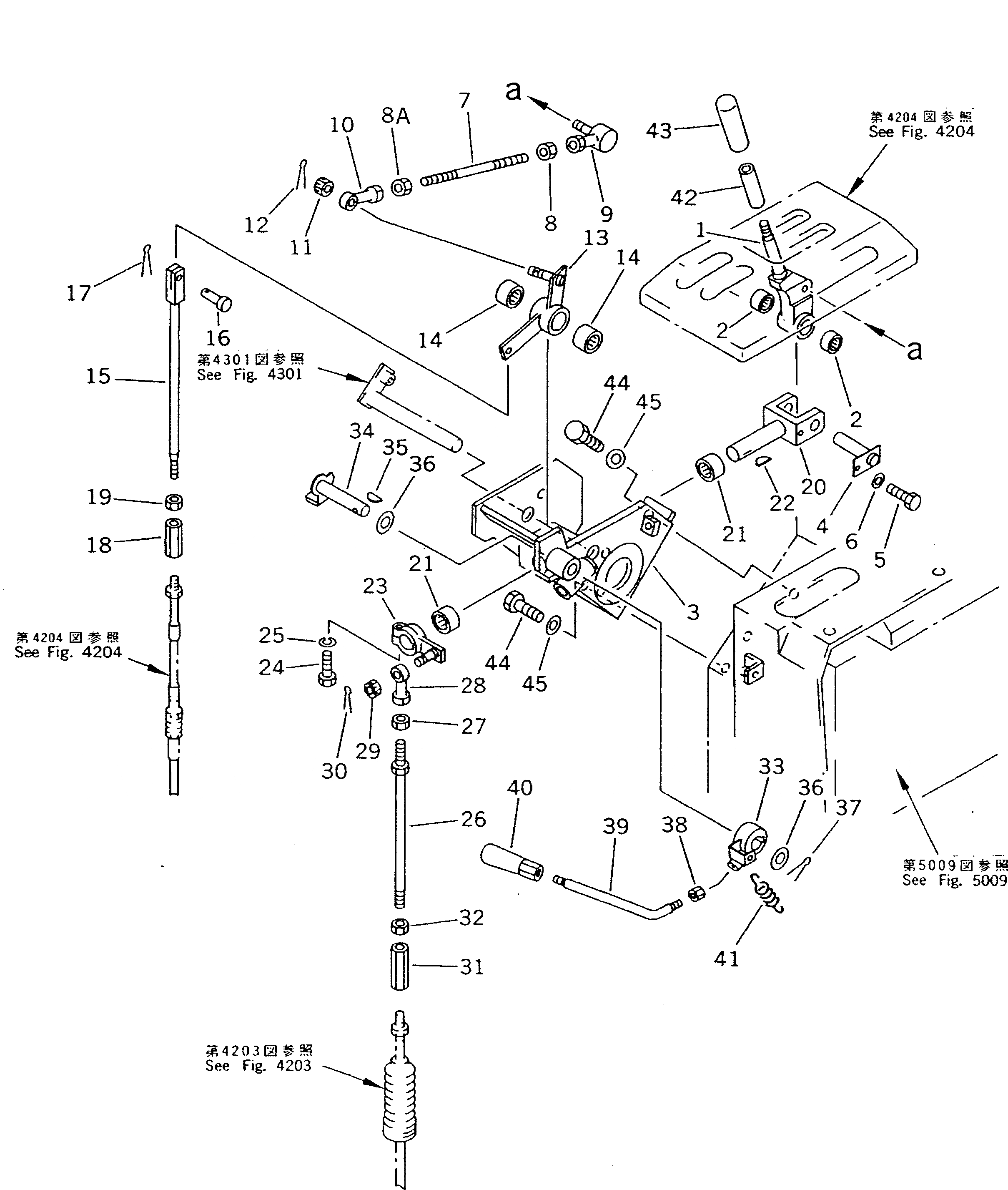
1

195-43-43150

LEVER

SN: 10001-UP

1шт.

2

195-61-34120

BEARING

SN: 10001-UP

2шт.

3

154-43-43130

BRACKET

SN: 10001-UP

1шт.

4

195-43-43170

PIN

SN: 10001-UP

1шт.

5

01010-50616

BOLT

SN: 10001-UP

1шт.

6

01643-30623

WASHER

SN: 10001-UP

1шт.

7

113-43-11530

ROD

SN: 10001-UP

1шт.

8

01580-10806

NUT

SN: 10001-UP

1шт.

8A

01508-40805

NUT

SN: 10001-UP

1шт.

9

04256-00816

JOINT,BALL

SN: 10001-UP

1шт.

10

04250-90847

END,ROD

SN: 10001-UP

1шт.

11

01590-10809

NUT

SN: 10001-UP

1шт.

12

04050-12015

PIN,COTTER

SN: 10001-UP

1шт.

13

154-43-43150

LEVER

SN: 10001-UP

1шт.

14

195-43-43190

BEARING

SN: 10001-UP

2шт.

15

195-43-41580

ROD

SN: 10001-UP

1шт.

16

04205-10822

PIN

SN: 10001-UP

1шт.

17

04050-12015

PIN,COTTER

SN: 10001-UP

1шт.

18

144-43-51130

JOINT

SN: 10001-UP

1шт.

19

01508-40805

NUT

SN: 10001-UP

1шт.

|$$23

====================

-1шт.

G-2

0

CONTROL GROUP,F-R

SN: 10001-UP

1шт.

|$$25

====================

-1шт.

20

154-43-43210

YOKE

SN: 10001-UP

1шт.

21

195-43-43190

BEARING

SN: 10001-UP

2шт.

22

04010-00519

KEY

SN: 10001-UP

1шт.

23

154-43-43220

LEVER

SN: 10001-UP

1шт.

24

01010-50830

BOLT

SN: 10001-UP

1шт.

25

01602-20825

WASHER,SPRING

SN: 10001-UP

1шт.

26

04248-31028

ROD

SN: 10001-UP

1шт.

27

01582-11008

NUT

SN: 10001-UP

1шт.

28

04250-81056

END

SN: 10001-UP

1шт.

29

01593-11008

NUT

SN: 10001-UP

1шт.

30

04050-12018

PIN,COTTER

SN: 10001-UP

1шт.

31

178-43-12180

BUCKLE,TURN

SN: 10001-UP

1шт.

32

01508-41006

NUT

SN: 10001-UP

1шт.

|$$39

====================

-1шт.

G-3

0

LOCK GROUP,TRANSMISSION

SN: 10001-UP

1шт.

|$$41

====================

-1шт.

33

195-43-43241

LEVER

SN: 10001-UP

1шт.

34

154-43-43260

PIN

SN: 10001-UP

1шт.

35

04010-00519

KEY

SN: 10001-UP

1шт.

36

01640-21626

WASHER

SN: 10001-UP

2шт.

37

04050-14025

PIN,COTTER

SN: 10001-UP

1шт.

|$$47

====================

-1шт.

38

195-43-43370

NUT

SN: 10001-UP

1шт.

39

195-43-43360

LEVER

SN: 10001-UP

1шт.

40

09305-00800

KNOB

SN: 10001-UP

1шт.

31

195-43-43260

SPRING

SN: 10001-UP

1шт.

42

09361-01460

BUSHING

SN: 10001-UP

1шт.

43

09304-01240

KNOB

SN: 10001-UP

1шт.

44

01010-51225

BOLT

SN: 10001-UP

4шт.

45

01643-31232

WASHER

SN: 10001-UP

4шт.

Выбрано товаров: 55