Запчасти Komatsu D135A-2 ГИДРОЛИНИЯ (БАК - ЦИЛИНДР РЫХЛИТЕЛЯ)(ДЛЯ РЕГУЛИР. ТИП РЫХЛИТЕЛЬ) УПРАВЛ-Е РАБОЧИМ ОБОРУДОВАНИЕМ

Схема запчастей Komatsu D135A-2 - ГИДРОЛИНИЯ (БАК - ЦИЛИНДР РЫХЛИТЕЛЯ)            (ДЛЯ РЕГУЛИР. ТИП РЫХЛИТЕЛЬ) УПРАВЛ-Е РАБОЧИМ ОБОРУДОВАНИЕМ
FIT
1:1
100%

Артикул

Название

Примечание

Количество

G-1

0

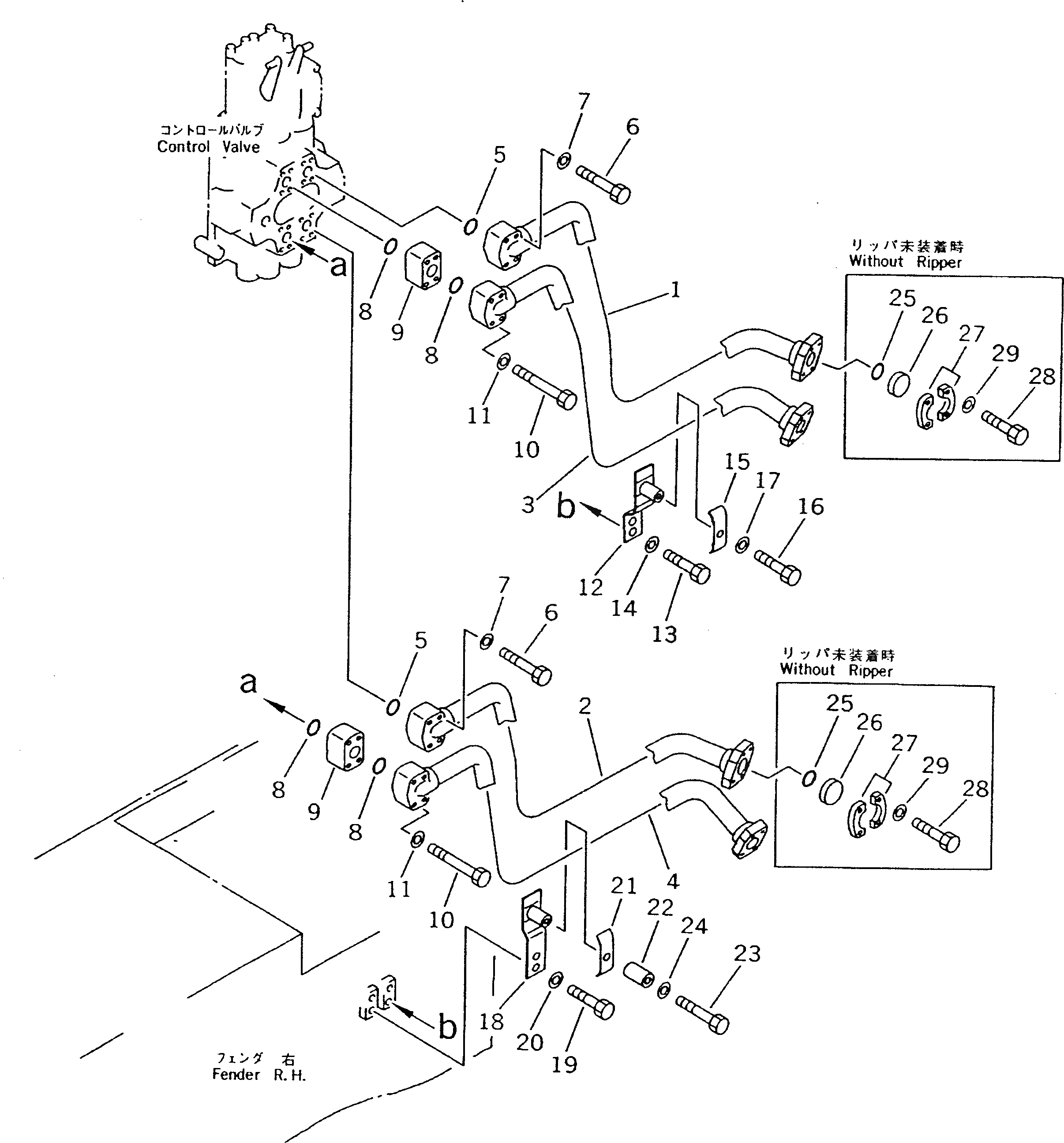
RIPPER PIPING GROUP

SN: 10301-UP

1шт.

|$$2

====================

-1шт.

1

15A-61-14110

TUBE

SN: 10301-UP

1шт.

2

15A-61-14120

TUBE

SN: 10301-UP

1шт.

3

15A-61-14130

TUBE

SN: 10301-UP

1шт.

4

15A-61-14140

TUBE

SN: 10301-UP

1шт.

5

07000-13035

O-RING

SN: 10301-UP

2шт.

6

01010-51065

BOLT

SN: 10301-UP

8шт.

7

01643-31032

WASHER

SN: 10301-UP

8шт.

8

07000-13035

O-RING

SN: 10301-UP

4шт.

9

154-61-73140

SPACER

SN: 10301-UP

2шт.

10

01011-51005

BOLT

SN: 10301-UP

8шт.

11

01643-31032

WASHER

SN: 10301-UP

8шт.

12

15A-61-14180

CLAMP

SN: 10301-UP

1шт.

13

01010-51020

BOLT

SN: 10301-UP

2шт.

14

01643-31032

WASHER

SN: 10301-UP

2шт.

15

154-61-79160

CLAMP

SN: 10301-UP

1шт.

16

01010-51020

BOLT

SN: 10301-UP

1шт.

17

01643-31032

WASHER

SN: 10301-UP

1шт.

18

15A-61-14170

CLAMP

SN: 10301-UP

1шт.

19

01010-51020

BOLT

SN: 10301-UP

2шт.

20

01643-31032

WASHER

SN: 10301-UP

2шт.

21

154-61-79160

CLAMP

SN: 10301-UP

1шт.

22

113-03-21170

SPACER

SN: 10301-UP

1шт.

23

01010-51055

BOLT

SN: 10301-UP

1шт.

24

01643-31032

WASHER

SN: 10301-UP

1шт.

25

07000-13032

O-RING

SN: 10301-UP

4шт.

26

07378-11000

HEAD

SN: 10301-UP

4шт.

27

07371-31049

FLANGE,SPRIT

SN: 10301-UP

8шт.

28

07372-21035

BOLT

SN: 10301-UP

16шт.

29

01643-51032

WASHER

SN: 10301-UP

16шт.

|$$32

====================

-1шт.

Выбрано товаров: 32